من خلال هذه المقالة ، يمكنك معرفة الميزات التي تتميز بها آلة طحن المعادن ، والتي يمكن استخدامها في ورشة العمل المنزلية ، بما يلي: الخصائص التقنية للمعدات ، وتصنيف الأدوات وتطبيقاتها. يصف النص بإيجاز قدرات الهياكل الرأسية والأفقية ، وقواطع الطحن المكتبية والمحمولة باليد ، بالإضافة إلى آلات الطحن والحفر والطحن والحفر وآلات CNC الشاملة.

آلة طحن للمعادن: تصنيف وخصائص المعدات
تعد آلة الطحن واحدة من أكثر الأدوات شيوعًا في صناعة تشغيل المعادن

أنواع آلات الطحن: الصور وميزات التصميم

تستخدم آلات الطحن لمعالجة الفراغات المعدنية. الأدوات في هذه الفئة تحظى بشعبية كبيرة وتستخدم على نطاق واسع في مجال تشغيل المعادن. علاوة على ذلك ، يمكنك شراء آلة طحن المعادن ليس فقط لأغراض الإنتاج ، ولكن أيضًا كمعدات لورشة العمل المنزلية.

كل نوع من أنواع الأدوات الآلية للمعادن له وظائفه ونطاقه الخاص ويتم اختياره للاستخدام في اتجاه معين
كل نوع من أنواع الأدوات الآلية للمعادن له وظائفه ونطاقه الخاص ويتم اختياره للاستخدام في اتجاه معين

مجموعة واسعة من أدوات الطحن معروضة للبيع. تمتلك جميع طرازات الماكينات تقريبًا نفس الهيكل وتعمل وفقًا لنفس المبدأ. يمكن أن تؤثر الاختلافات على الجانب الوظيفي فقط ، والذي يعتمد على وجود أنظمة إضافية ومكونات عقدية في التصميم.

يمكن للمستهلكين شراء آلات طحن CNC للمعادن من الأنواع التالية:

  • عمودي؛
  • عرضي؛
  • الحفر والطحن.
  • آلات خراطة وطحن للمعادن ؛
  • عالمي؛
  • كتيب؛
  • الطحن والنقش.

التعديلات المذكورة هي الرئيسية. كل نوع من المعدات له خصائصه الخاصة والغرض الوظيفي.

آلات الطحن CNC Benchtop قوية ودقيقة بما يكفي لتكون مثالية للورش المنزلية والشركات الصغيرة.
تتميز آلات الطحن CNC Benchtop بأنها قوية ودقيقة بما يكفي لتكون مثالية للورش المنزلية والشركات الصغيرة

خصائص آلات الطحن العمودية

الهياكل العمودية هي فئة أدوات شائعة جدًا.يتم تمثيل المعدات الخاصة بآلة طحن المعادن من هذا النوع بعناصر قطع من النوع الأسطواني والمشكل والنهائي. بالإضافة إلى ذلك ، تسمح لك المعدات بإجراء عمليات الحفر.

الغرض من آلات الطحن العمودية CNC:

  • تشكيل الأخاديد
  • معالجة أجزاء الإطار
  • تصنيع عجلات التروس
  • معالجة الزوايا ، وكذلك الأسطح المعدنية الأفقية والعمودية.

المعدات من النوع العمودي ، بسبب هيكلها ، لديها هيكل صلب للغاية. هذا يجعل من الممكن معالجة الأجزاء المعدنية بمستوى جودة عالي. يتم تثبيت علبة التروس على رأس المغزل.

هناك نوعان من آلات طحن المعادن العمودية:

  1. طحن وحدة التحكم.
  2. بلا عزاء.
تتيح الآلات غير المتوازنة للمعدن الانخراط في طحن الأسطح الرأسية والأفقية والمائلة
تتيح الآلات غير المتوازنة للمعدن الانخراط في طحن الأسطح الرأسية والأفقية والمائلة

ملحوظة! في تلك التصميمات التي لا توجد بها وحدة تحكم ، يتم تنفيذ حركة طاولة العمل عن طريق أدلة موضوعة على سرير الأداة.

تختلف الماكينة ، التي يوجد في تصميمها وحدة تحكم ، فقط من حيث أن غلافها ومغزلها يمكن أن يتحركان بالنسبة لمحور الجهاز. لتصنيع أجزاء من الأشكال المعقدة ، يتم استخدام آلات طحن CNC ذات 5 محاور. توفر هذه التصميمات جودة معالجة عالية جدًا ووفورات. يمكن أن تحتوي على ذاكرة مدمجة والقدرة على الاتصال بالإنترنت ، بالإضافة إلى العديد من الخيارات الإضافية الأخرى. تحتوي بعض الخيارات على طاولات قابلة للإزالة.

ميزات آلات الطحن الأفقية

تختلف الهياكل الأفقية في أن المغزل فيها له وضع أفقي. يتم استخدام الأدوات في هذه الفئة لآلة الأجزاء المعدنية الصغيرة.

تُستخدم الأنواع التالية من أدوات القطع المعدنية كملحقات للهياكل الأفقية:

  • شكل.
  • ركن؛
  • النهاية؛
آلة الطحن الأفقية عبارة عن سرير آلة مع محور دوران أفقي ، حيث يوجد قاطع طحن وعلبة تروس وطاولة
آلة الطحن الأفقية عبارة عن إطار آلة مع مغزل أفقي ، حيث يوجد قاطع طحن وعلبة تروس وطاولة
  • النهاية؛
  • إسطواني.

لا تسمح المعدات القياسية لآلة التفريز CNC الأفقية بتصنيع قطع العمل على طول سطح حلزوني. لإجراء مثل هذه العملية ، يلزم وجود معدات إضافية.

نظرًا لهيكلها ، تسمح الأداة الأفقية بتثبيت سطح الطاولة في مواضع مختلفة. يمكن وضع الجدول بشكل عمودي أو موازي لمحور المغزل. يتم تثبيت جميع العناصر العقدية والعملية للهيكل على السرير. يقع صندوق السرعة ، المصمم لضبط سرعة دوران المغزل ، داخل هذه المنطقة.

خصوصية آلات الحفر والطحن للمعادن

تسمح لك معدات الحفر والطحن بمعالجة الأسطح المائلة والعمودية والأفقية. باستخدام هذه الأداة ، يمكنك تشكيل أخاديد لأي تعديل على قطع العمل الكبيرة. الآلة من هذا النوع مجهزة برأس حفر وطحن. يسمح بمعالجة الأسطح بزاوية فيما يتعلق بالمحور الأفقي وعمليات الحفر المائلة.

في آلات الحفر والطحن ، يمكنك بكفاءة ودقة أجزاء الماكينة ذات الأسطح المنحنية والمعايرة وتشكيل الثقوب
يمكن لآلات الحفر والطحن أن تعمل بكفاءة ودقة على أجزاء الماكينة ذات الأسطح المنحنية والمعايرة وتشكيل الثقوب

السمة المميزة لماكينة حفر وطحن سطح المكتب للمعادن هي وظائفها الموسعة. يمكن أن يعمل رأس العمل في الوضع العكسي. نظرًا لتعدد استخداماتها ، يمكن لهذه الوحدة أداء العمليات المطلوبة على أعلى مستوى مثل الحفر والطحن.

ملحوظة! نظرًا لتعدد استخداماتها ، توفر آلة الحفر والطحن المال عند الشراء ، حيث يحصل المستهلك على العديد من الأدوات المفيدة والفعالة في تصميم واحد. بالإضافة إلى ذلك ، تتيح لك المعدات متعددة الاستخدامات توفير مساحة في ورشة العمل.

ميزات آلات طحن المعادن العالمية لورشة العمل المنزلية

ستكون قدرات الآلات متعددة الأغراض مفيدة للصناعات الخاصة الصغيرة والورش المتخصصة في الأعمال الميكانيكية وأعمال الإصلاح.

يمكن لآلات الطحن العامة للمعادن معالجة كائنات مختلفة:

  • الأسطح العمودية
  • طوابع بريدية؛
تم تصميم آلة الطحن العامة لأداء أعمال المعادن مع المطاحن الأسطوانية ، والنهاية ، والنهاية ، والشكل وغيرها من المطاحن ، وكذلك المثاقب
تم تصميم آلة الطحن العامة لأداء أعمال المعادن مع المطاحن الأسطوانية ، والنهاية ، والنهاية ، والشكل وغيرها من المطاحن ، وكذلك المثاقب
  • طائرات أفقية
  • أسطح لولبية.

نظرًا للعدد الكبير من الوظائف ، تختلف قواطع الطحن العامة عن الأدوات القياسية في بعض ميزات التصميم. توجد مكونات مهمة مثل علبة التروس ومجموعة المغزل وعناصر العمل الأخرى داخل السرير. يوفر تصميم الأداة وجود أدلة أفقية ورأسية. وهي مصممة لتحريك سطح المكتب ووحدة التحكم.

بالإضافة إلى ذلك ، يمكن تعديل سطح العمل بشكل إضافي. يمكن تثبيت هذا العنصر بأي زاوية مناسبة بالنسبة للمغزل. هذا يعطي المشغل الفرصة لمعالجة أي أجزاء معدنية. قطع العمل ذات التكوين المعقد للغاية ليست استثناء.

ميزات آلات طحن المعادن المكتبية

تصميمات سطح الطاولة صغيرة الحجم. لذلك ، فإن هذا النوع من المعدات مناسب للمعدات التقنية لأشياء مختلفة:

  1. ورش العمل المنزلية.
يمكن استخدام آلة طحن سطح المكتب ذات الوظائف العالية بشكل كافٍ بنجاح لمعالجة قطع العمل المصنوعة من المعادن الحديدية وغير الحديدية
يمكن استخدام آلة طحن سطح المكتب ذات الوظائف العالية بشكل كافٍ بنجاح لمعالجة قطع العمل المصنوعة من المعادن الحديدية وغير الحديدية
  1. ورش عمل الصناعات الصغيرة.
  2. ورش عمل في المؤسسات التعليمية.

بالنسبة لعمليات مثل تشكيل الثقوب ، وإنشاء الخيوط ، وقطع غيار الآلات ، فمن الأفضل شراء آلة طحن المعدن على سطح المكتب. إنه سهل الاستخدام ، وبسبب وجود قواطع مختلفة ، فإنه يسمح لك بأداء مجموعة واسعة من الأعمال. النتيجة دقيقة للغاية ، لأن بناء الأداة صارم للغاية (بشرط أن يتم تثبيته بشكل صحيح).

تتمتع آلات طحن المعدن CNC المكتبية بمستوى عالٍ من الإنتاجية ، مما يجعل من الممكن استخدام هذا النوع من المعدات لتصنيع المنتجات على دفعات صغيرة. على الرغم من عامل الكفاءة الكبير والمجموعة الواسعة من القدرات الوظيفية ، تستهلك الأداة كمية صغيرة من الطاقة الكهربائية. بالإضافة إلى ذلك ، يتميز التصميم بالحجم الصغير ، مما يسهل تثبيته في ورشة عمل ذات مساحة خالية محدودة.

مزايا تصميمات الطاولة على الطرز القياسية:

  • الوزن الخفيف والأبعاد المدمجة ؛
  • نظام تشغيل بسيط
  • إمكانية التنقل؛
يتم تثبيت قطع العمل التي تحتاج إلى المعالجة على آلة سطح المكتب على سطح المكتب الخاص بها ، ويتم تنفيذ المعالجة نفسها بواسطة أداة قطع دوارة - قاطع طحن
يتم تثبيت قطع العمل التي تحتاج إلى المعالجة على آلة سطح المكتب على سطح المكتب الخاص بها ، ويتم تنفيذ المعالجة نفسها بواسطة أداة قطع دوارة - قاطع طحن
  • مستوى ضوضاء منخفض
  • التكلفة المعقولة.

ملحوظة! لا يمكن أن يتجاوز حجم قطعة العمل المراد معالجتها عرض الجدول.

خصوصية آلات التفريز CNC للمعادن

يمكنك العثور للبيع على معدات خراطة لورشة منزلية قادرة على توفير دورة كاملة من العمل لتصنيع الجزء المطلوب.

يتم تقسيم آلات الخراطة والطحن للمعادن حسب فئة الدقة إلى الفئات التالية:

  • دقة عادية
  • زيادة الجودة
  • دقة معالجة عالية.

باستخدام رسم لتصنيع جزء معين ، من الضروري الإشارة إلى جميع التفاوتات للأبعاد الخطية ، وكذلك درجة نقاء المعالجة. لا يمكن تمييز خيارات أدوات سطح المكتب تقريبًا عن أدوات الماكينة كاملة الحجم.

تتميز ماكينات خراطة وطحن المعادن بواجهة مستخدم سهلة الاستخدام تتيح لك التحكم في الإنتاج وإجراء تغييرات سريعة على إعدادات المعدات
تتميز ماكينات خراطة وطحن المعادن بواجهة مستخدم سهلة الاستخدام تتيح لك التحكم في الإنتاج وإجراء تغييرات سريعة على إعدادات المعدات

أكثر أنواع قواطع المعادن شيوعًا لآلة طحن من هذا النوع:

  • القرص.
  • النهاية؛
  • إسطواني؛
  • النهاية؛
  • شكل.

مقالات لها صلة:

مخرطة معدنية محلية الصنع بأيديكم: التصنيع والتشغيل

اختيار قوة المحرك. إنشاء أداة آلية على أساس الحفر. هندسة السلامة والتعديلات.

بالنسبة لعمليات معينة ، يتم تحديد مرفق القطع المناسب. آلات الخراطة والطحن CNC ليست قادرة على معالجة قطع العمل التي هي أجسام ثورة. إذا تم استخدام أسطح مشكلة ومسطحة في العمل ، فسيتعين عليك تحريك الجزء في الاتجاه المطلوب بالنسبة لأداة القطع. قاطع الطحن نفسه قادر على أداء حركات دورانية حصرية.

ميزات آلات CNC للمعادن: أدوات الطحن والحفر

تتميز معدات الطحن والنقش بالعديد من المزايا عند مقارنتها بأدوات تشغيل المعادن القياسية. بفضل التحكم العددي ، تكون معالجة الأجزاء دقيقة ودقيقة للغاية. هذه الميزة مفيدة بشكل خاص في الحالات التي يكون فيها الجزء المعدني ذو تكوين معقد ، لأنه من الصعب للغاية تحقيق نفس الجودة على آلة طحن يدوية.

تم تصميم آلات الطحن والنقش باستخدام الحاسب الآلي لطحن ونقش المعادن باستخدام آلات الحفر الصغيرة والقواطع ونقش المجوهرات للمنتجات
تم تصميم آلات الطحن والنقش باستخدام الحاسب الآلي لطحن ونقش المعادن باستخدام آلات الحفر الصغيرة والقواطع ونقش المجوهرات للمنتجات

في أغلب الأحيان ، يتم استخدام هذه المعدات في المؤسسات العاملة في إنتاج المنتجات الفردية والصغيرة. ستكون إمكانات الأداة مفيدة في صناعات مثل المجوهرات وتصنيع الأثاث وصنع الهدايا التذكارية. تتيح لك مجموعة متنوعة من سوق معدات الأشغال المعدنية اختيار قاطع الطحن بالخصائص الضرورية لقطع الصفائح المعدنية وتطبيق النقوش على المنتجات.

لماذا من المربح شراء آلة طحن ونقش CNC:

  1. نظام خدمة بسيط.
  2. وظائف واسعة النطاق.
  3. معالجة معادن عالية الجودة.
  4. الموثوقية والمتانة.
  5. عامل كفاءة عالية.

حسب نوع البناء ، يتم تمييز الأنواع التالية من قواطع الطحن:

  • تصميمات تلقائية كاملة برأس بثلاثة محاور ومشبك هوائي ؛
  • قواطع طحن سطح المكتب مع لقط ميكانيكي لقطعة الشغل ؛
  • تصميمات أوتوماتيكية مع تحامل هوائي لقطعة العمل.
بالدوران بسرعة عالية ، تقوم القواطع بمعالجة المواد عن طريق القطع والحفر والقطع والنقش وفقًا لبرنامج معين تحت سيطرة مشغل CNC
بالدوران بسرعة عالية ، تقوم القواطع بمعالجة المواد عن طريق القطع والحفر والقطع والنقش وفقًا لبرنامج معين تحت سيطرة مشغل CNC

ملحوظة! أدت أعمال الطحن على آلات CNC إلى تقليل عدد المنتجات المعيبة في الإنتاج إلى الصفر تقريبًا.

خصائص آلات طحن المعادن الصغيرة

تختلف النماذج المصغرة المصممة للورش المنزلية عن الهياكل الثابتة من النوع الصناعي في الخصائص التقنية. عادة لا يتجاوز مستوى طاقة هذه الأداة 400 واط. هذا يكفي لإجراء معالجة عالية الجودة للأجزاء المعدنية اللينة أو لإنشاء منتجات على دفعات صغيرة. إذا كان من الضروري معالجة قطع العمل المصنوعة من الفولاذ أو الحديد الزهر ، فيجب أن تتجاوز قوة الأداة 600 وات.

أبعاد سطح الطاولة تختلف أيضًا. الأبعاد القصوى للجدول الذي تم تجهيز ماكينات التفريز به هي 65 × 25 سم ، والحد الأدنى 35 × 15 سم.يتم تحديد المعلمات مع مراعاة التفاصيل التي ستتم معالجتها.

تحدد سرعة دوران المغزل مستوى إنتاجية جهاز التوجيه ، بالإضافة إلى قدرته على العمل مع مواد معينة. كلما زادت صعوبة المعدن الذي صنعت منه قطعة العمل ، يجب أن تكون سرعة الدوران أقل. يتم استخدام المعلمات الأعلى للسبائك اللينة والألمنيوم.

آلة طحن سطح المكتب المدمجة مزودة بـ CNC
آلة طحن سطح المكتب المدمجة مزودة بـ CNC

آلة طحن المعادن: تكنولوجيا التصنيع

الهياكل العمودية هي الأسهل في التصنيع. سيتطلب التجميع مثقابًا يدويًا وقليلًا من الوقت والجهد. للعمل ، ستحتاج إلى أجزاء غير مكلفة وبأسعار معقولة. بالإضافة إلى ذلك ، يمكن تزويد قاطع الطحن محلي الصنع بوظائف إضافية وأيضًا إخراج أداة تحول منه.

لتصنيع آلة طحن المعادن محلية الصنع بيديك ، فأنت بحاجة إلى المواد والأدوات التالية:

  • قناة؛
  • أنبوب معدني مع قسم مربع ؛
  • آلة لحام؛
  • جاك سيارة على شكل الماس
  • زوايا معدنية
  • زاوية طاحونة؛
  • ملف؛
  • دبابيس معدنية لصنع المحاور.
  • تدريبات؛
  • كوليت أو ظرف الحفر ؛
  • ورقة الخشب الرقائقي السميك.
  • مورس تفتق 2.
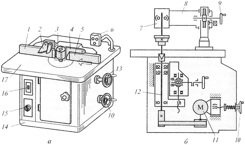
أ - منظر عام لآلة الطحن ، ب - رسم بياني حركي. 1 ، 5 - أدلة المسطرة ؛ 2 - قطاع مسنن 3 - القاطع 4 - سياج 6 - لوحة التحكم ؛ 7 - دعم إضافي للمغزل ؛ 8 - قوس 9 - ذراع رفع اليد ؛ 10 - عجلة شد الحزام ؛ 11 - محرك كهربائي 12 - المغزل 13 - عجلة يدوية لتعديل ارتفاع المغزل ؛ 14 - السرير 15 - مفتاح سرعة المغزل ؛ 16 - التبديل ؛ 17 - الجدول
أ - منظر عام لآلة الطحن ، ب - رسم بياني حركي. 1 ، 5 - أدلة المسطرة ؛ 2 - قطاع مسنن 3 - القاطع 4 - سياج 6 - لوحة التحكم ؛ 7 - دعم إضافي للمغزل ؛ 8 - قوس 9 - ذراع رفع اليد ؛ 10 - عجلة شد الحزام ؛ 11 - محرك كهربائي 12 - المغزل 13 - عجلة يدوية لتعديل ارتفاع المغزل ؛ 14 - السرير 15 - مفتاح سرعة المغزل ؛ 16 - التبديل ؛ 17 - الجدول

تكنولوجيا تصنيع آلة طحن المعادن DIY

أولاً ، من الضروري توصيل العمود والإطار من قناة معدنية باللحام. يجب أن تكون النتيجة تصميم على شكل حرف U. سيعمل العضو المتقاطع السفلي كقاعدة للآلة. أدلة الحركة العمودية لوحدة التحكم مصنوعة من زاوية. في السابق ، يجب أن يتم صقلها وتوصيلها بالعمود باستخدام وصلات مثبتة بمسامير.

سيتم استخدام مقبس سيارة من النوع الماسي لتمكين وحدة التحكم من التحرك عموديًا. ستكون المسافة في هذه الحالة 10 سم. لإنشاء الأدلة ، ستحتاج إلى إدخال دبابيس بخيوط ملولبة في أنبوب معدني بمقطع عرضي مربع. نتيجة لذلك ، سيكون سطح الطاولة قادرًا على التحرك ذهابًا وإيابًا في جزء يساوي 9 سم ، وسيكون الاتساع الجانبي 13 سم.

نصائح مفيدة! قبل تجميع هيكل محلي الصنع ، لا يضر التعرف على مبدأ التشغيل وهيكل معدات المصنع ، ودراسة الرسومات وإعداد الأجزاء اللازمة للعمل بعناية.

تمثيل تخطيطي لآلة طحن المعادن
تمثيل تخطيطي لآلة طحن المعادن

سطح الطاولة مصنوع من ألواح الخشب الرقائقي. للتثبيت ، يتم استخدام البراغي ، والتي يجب أن تكون رؤوسها متقطعة. بعد ذلك ، تحتاج إلى تثبيت نائب على سطح الطاولة. يمكن أن تكون محلية الصنع: الهيكل ملحوم من أنبوب بملف جانبي مربع وزاوية معدنية ، من خلالها تحتاج إلى تمرير دبوس ملولب. يمكن استخدام مسامير اللولب ذاتية اللولبة كمثبتات لإصلاح الرذيلة على سطح الطاولة.

بعد ذلك ، يتم تثبيت المثقاب في السرير. يتم ذلك بحيث يشير المغزل في النهاية إلى أسفل. يتم التثبيت باستخدام طريقة التوصيل اللولبي. لهذا ، يجب عليك أولاً لحام وصلات العبور الخاصة. ثم يتم توصيل Morse Taper 2 بالمغزل ، متبوعًا بتركيب كوليت أو ظرف حفر عليه.

على الجهاز الناتج محلي الصنع ، يمكنك معالجة قطع العمل المصنوعة من المعادن اللينة ، مثل الألومنيوم أو البرونز. في هذه الحالة ، يتحرك الذراع أثناء العمل ، بينما يظل جهاز التوجيه ثابتًا.يمكن إنشاء الهيكل بطريقة أخرى ، بحيث يتم إصلاح قطعة العمل ، ويتحرك جهاز التوجيه مع العربة. هذا يتطلب مصعد.

آلة طحن المعادن أثناء التجميع
آلة طحن المعادن أثناء التجميع

كيفية صنع مصعد لآلة طحن المعادن محلية الصنع

عن طريق رافعة أو كرنك ، سوف يتحرك المصعد بسلاسة على طول جهاز التوجيه. في الوقت نفسه ، لا يوجد اتصال مباشر بين السيد والجهاز. لهذا السبب ، يُنصح بالحساب الدقيق مسبقًا لجميع أبعاد الأخاديد المراد تشكيلها وتغيير القواطع بسرعة.

تكنولوجيا تصنيع المصاعد:

  1. يتم قطع لوحة من قطعة من ثنائي الفينيل متعدد الكلور وتثبيتها على سطح الطاولة. سيتم استخدامه كدعم.
  2. وظيفتان متصلتان باللوحة الأساسية. تأكد من التأكد من أنهما متوازيان.
  3. ستُستخدم الحوامل لتحريك الحامل المثبت عليه جهاز التوجيه. سيتم توفير الحركة بواسطة آلية دفع.

ملحوظة! يجب أن يكون هيكل المصعد ثابتًا وصلبًا. إذا كان هناك أدنى رد فعل عنيف ، فقد تتعطل عملية المعالجة وقد يظهر عيب في الجزء.

لا تتأثر كفاءة معالجة الأجزاء المعدنية بجودة الماكينة فحسب ، بل تتأثر أيضًا بجدول الإحداثيات الذي تم تثبيت قطعة العمل عليه. يتم تقديمه على شكل لوح مسطح ويمكن أن يتراوح من 1 إلى 3 درجات من الحرية. إذا كنت تنوي تصنيع أجزاء مسطحة ، يكفي أن تتحرك الطاولة في اتجاه أفقي. يتطلب العمل مع المنتجات الضخمة أيضًا حركة رأسية. الشيء نفسه ينطبق على الإنشاءات التي تدريبات ثابت بلا حراك.

يسمح لك المصعد باستبدال أداة القطع بسرعة على آلة محلية الصنع ، وكذلك ضبط المعلمات الهندسية للمنتجات المطحونة بدقة
يسمح لك المصعد باستبدال أداة القطع بسرعة على آلة محلية الصنع ، وكذلك ضبط المعلمات الهندسية للمنتجات المطحونة بدقة

كيفية إنشاء جدول تنسيق بيديك: اختيار المواد والمكونات

يمكن نقل هيكل الجدول XY بواسطة الكهرباء أو الميكانيكا أو CNC. يمكنك أن تأخذ الألومنيوم أو الفولاذ أو الحديد الزهر كمواد لصنع القاعدة. يعتمد الاختيار على وزن قطع العمل التي ستتم معالجتها على الجهاز. يتم تجميع وتثبيت قاعدة إطار الألمنيوم عن طريق وصلات ملولبة. والنتيجة تصميم بسيط وخفيف الوزن وميسور التكلفة.

هياكل الحديد الزهر مصنوعة من الحديد الزهر. اتضح أنها ثقيلة جدًا ، لكنها تسمح بتنفيذ كميات إنتاج كبيرة. يتم تثبيت الهيكل المصبوب بشكل دائم على الأساس.

من الأفضل صنع السرير من المعدن باستخدام آلة اللحام. في هذه الحالة ، من المهم جدًا تقليل إجهاد اللحام للمادة عن طريق إطلاقها. خلاف ذلك ، فإن سرعة الدوران العالية للجهاز سوف تسبب تشققات. يمكن أن تكون الطاولة عملاقة (للمنتجات المسطحة) أو عرضية (للمعالجة ثلاثية الجوانب لقطع العمل السائبة).

عند إنشاء جدول إحداثيات ، يجب إيلاء اهتمام خاص للاختيار الصحيح للأدلة ، وكذلك طريقة تثبيتها. للعمل ، عادة ما يتم استخدام عناصر أسطوانية أو نوع سكة ​​حديدية. لديهم إمكانية وجود بنية فوقية للعربة وقد قاموا بالفعل بتركيب وحدات تحمل.

تصميم الجدول XY وأبعاده
تصميم الجدول XY وأبعاده

عند اختيار الأدلة ، يجب أن تفكر أيضًا في نوع محرك الأقراص. إذا كان العمل يتطلب دقة عالية ، فمن الأفضل إعطاء الأفضلية لمحامل الأكمام. تعتبر المحامل الدوارة مناسبة لتقليل الاحتكاك ، لكنها ستخلق اللعب.

مع مراعاة الميزات الفنية للنقل ، يمكن تمييز نوعين من الأدلة:

  1. مع شفة كبيرة الحجم - يتم إرفاق العنصر بأسفل الجدول.
  2. شفة - مثبتة بالطريقة المعتادة من خلال الثقوب الملولبة.

بالنسبة لطاولة محلية الصنع ، يمكن استخدام برغي كروي (6-12 ميكرون) أو رف وترس (حتى 10 ميكرون) أو محرك سير (50-100 ميكرون). لكل من هذه الأنظمة مزايا وعيوب ، لذا فإن الاختيار يعتمد على نوع العمل الذي سيتم تنفيذه على الجهاز.لزيادة العمر التشغيلي لجميع آليات القيادة ، يُنصح بتنظيف عناصر التجميع في الوقت المناسب من الحطام والغبار ، وكذلك تشحيمها.

نوع مختلف من جدول إحداثيات محلي الصنع
نوع مختلف من جدول إحداثيات محلي الصنع

بشكل عام ، يعد صنع جهاز توجيه منزلي وطاولة أمرًا بسيطًا للغاية. الشيء الرئيسي هنا هو مراعاة ظروف العمل والامتثال لمتطلبات السلامة. يجب أن تتوافق جميع الآليات الموجودة في الهيكل مع بعضها البعض من حيث المعلمات: عمر الخدمة ، والحمل ، ووقت التبريد والتدفئة. إذا تزامنت هذه المؤشرات ، فستعطي الأداة نتائج جيدة في العملية. هذا المطلب له أهمية خاصة إذا كانت معدات الورشة المنزلية من صنع يدوي.