Cualquiera que ame fabricar de forma independiente varios productos y estructuras, a menudo se enfrenta a la necesidad de doblar una tubería de perfil en un arco. Es imposible hacer esto sin dispositivos especiales de manera suave y precisa, por lo tanto, es necesario hacer un doblador de tubos para un tubo de perfil con sus propias manos. Los artesanos han inventado muchos diseños para este dispositivo. Muchos de ellos se pueden realizar por su cuenta. Además, no requieren grandes fondos y son fáciles de fabricar y usar.
Contenido
- 1 Información básica sobre dobladoras de tubos
- 2 ¿Cuáles son los tipos de dobladores de tubos?
- 3 Cómo hacer el doblador de tubos manual más simple para un tubo de perfil con sus propias manos
- 4 Hacer una dobladora de tubos hidráulica casera
- 5 Cómo hacer un doblador de tubos con ruedas tú mismo
- 6 Dobladora de tubos (video)
Información básica sobre dobladoras de tubos
Antes de comenzar una historia sobre las opciones y métodos para hacer dobladores de tubos, debe decidir qué es y para qué se utiliza. Entonces, un doblador de tubos es un dispositivo manual o una máquina estacionaria que le permite doblar un tubo de cualquier material en un ángulo arbitrario.
La tubería puede ser de acero, cobre, aluminio o plástico con un diámetro de 5 a 1220 mm o perfil con cualquier sección. Ángulo de curvatura de 0 a 180 grados. Este artículo le llama la atención sobre la tecnología de fabricación de varios tipos de este sencillo dispositivo, habiendo estudiado cuál, en pocas horas puede realizar la instancia que desee.
¡Aviso util! Antes de comenzar a hacer un doblador de tubos, debe comprender sus tipos. Debe elegir el que sea más adecuado para usted en términos de funcionalidad y que sea factible para su autoproducción.
¿Cuáles son los tipos de dobladores de tubos?
Si estamos hablando de dispositivos industriales, se dividen en varios tipos según el método de accionamiento, así como el tipo de flexión.
Clasificación por tipo de unidad
Hay máquinas: hidráulicas, electromecánicas y manuales. Las máquinas de accionamiento hidráulico son manuales y estacionarias. Son lo suficientemente potentes como para doblar tuberías de hasta 3 pulgadas de diámetro. Las dobladoras de tubos hidráulicas se utilizan en actividades profesionales en industrias especializadas y son capaces de realizar una gran cantidad de trabajo.
Los dispositivos electromecánicos se pueden utilizar para doblar casi cualquier tubería, incluso con paredes muy delgadas, lo que está más allá del poder de la hidráulica. Después de todo, la electrónica le permite calcular con mucha precisión la fuerza y el ángulo de flexión, lo que evita que el material se rompa.Los tubos doblados por tales dispositivos no muestran los más mínimos signos de deformación.
Las dobladoras de tubos manuales se utilizan solo para doblar tubos de diámetro pequeño hechos de polímeros, acero inoxidable o metales no ferrosos. Trabajan principalmente de la red. Son fáciles de usar y no requieren mucha fuerza física para funcionar. Es muy posible hacer tales dobladores de tubos para un tubo de perfil con sus propias manos.
Clasificación por método de doblado de tubería
Puede doblar una tubería con el dispositivo de varias maneras. Dependiendo de esto, se pueden distinguir los siguientes tipos de dobladores de tubos: ballesta, resorte, segmental, mandril.
Los dispositivos de ballesta están equipados con una forma especial, que es un elemento de flexión. Está diseñado para un diámetro o sección de tubería. Para doblar una tubería de un diámetro diferente, se debe reemplazar el molde. Los dispositivos de resorte están equipados con resortes elásticos que permiten doblar los tubos de plástico sin deformación. Los segmentados están equipados con un segmento especial que tira de la tubería alrededor de sí misma, doblándola en el ángulo deseado.

Principio de flexión tubo en forma usando una herramienta casera
Debe entenderse que el método y el valor del ángulo de flexión de la tubería depende de sus características. Incluso existe un valor como el radio de curvatura mínimo, con una disminución adicional en la que la tubería se deforma o simplemente se rompe. Este indicador depende del grosor de la pared, el material y la sección de la tubería.
¡Aviso util! Si es posible o no doblar la tubería más de lo prescrito, esto no debe hacerse. Incluso si puede doblar el producto sin dañarlo, la calidad de este pliegue será deficiente y esto se notará tarde o temprano. Por lo tanto, se debe respetar el radio mínimo.

Una de las opciones para usar un perfil doblado es la disposición invernaderos
Cómo hacer el doblador de tubos manual más simple para un tubo de perfil con sus propias manos
Ahora veamos algunos dobladores de tubos caseros. La opción más sencilla prevé la posibilidad de doblar la tubería mediante una plantilla a un radio determinado. Esta tecnología también es adecuada para doblar tubos de acero, no solo de aluminio. La plantilla simplemente se corta de tablas, cuyo grosor es ligeramente mayor que el diámetro o la sección de la tubería que debe doblarse.
Estas tablas están unidas de forma segura para que la tubería no pueda saltar de ellas durante el proceso de doblado. Para formar un canalón, las tablas que se van a sujetar se cortan simplemente en una pendiente para un tubo redondo. Luego, la plantilla de madera terminada se une a una mesa u otra base similar. Se adjunta un tope al lado de la plantilla para fijar la tubería.
Artículo relacionado:
Partidor de madera de bricolaje: dibujos, fotos, instrucciones. Cómo elegir un partidor de madera. Tipos de cortadora de madera. Características del partidor de madera de tornillo, hidráulico y de cremallera. Autoensamblaje de la unidad.
Un doblador de tubos de bricolaje para un tubo de perfil de este tipo puede doblar incluso tubos de paredes gruesas si usa un cabrestante. Si la tubería está perfilada, los biseles no se hacen al cortar las tablas. En cambio, la tubería está asegurada con varios topes.
Con madera, incluso puede construir una dobladora de tubos rodante si muele rodillos de madera. También se pueden fabricar con cojinetes o poliuretano. En general, la complejidad de hacer dobladores de tubos caseros de cierta manera depende de la flexibilidad de la tubería. Las opciones compatibles se pueden doblar en accesorios de madera sin mucha dificultad solo a mano, pero para tuberías rígidas, se necesitarán dispositivos más complejos con partes metálicas.
Hacer una dobladora de tubos hidráulica casera
Si decide hacer una dobladora de tubos hidráulica real, necesita un gato hidráulico, un canal, dos rodillos y una zapata. Además, necesitará varias placas metálicas de acero de más de 3 mm de espesor.
Desde el canal con la ayuda maquina de soldar Cree una estructura rectangular que coincida con la altura del gato completamente extendido. Se instala sobre una base rígida y se fija de forma segura con placas de metal.
El gato debe seleccionarse con una capacidad de elevación de al menos 5 toneladas. Está diseñado para actuar como empujador. La tarea principal aquí es encontrar los videos más adecuados. La dificultad es que solo con los rollos más precisos alrededor de la tubería se puede obtener un doblez realmente de alta calidad. Si encuentra diferentes rodillos y los hace desmontables, puede doblar tubos de diferentes secciones y diámetros.
Las ventajas de una dobladora de tubos hidráulica de bricolaje para tubos de perfil son: facilidad de fabricación, disponibilidad y bajo costo del gato y las piezas. Tal dispositivo le permite doblar cualquier tubería redonda y con forma en un estado frío con alta calidad.
Cómo hacer un doblador de tubos con ruedas tú mismo
El proceso de doblado de tubos en un laminador es el siguiente. La tubería se coloca sobre rodillos laterales y se baja un tercero desde arriba, fijando el producto en una posición determinada. Cuando comenzamos a girar el mango, la cadena impulsa los ejes en movimiento de rotación y el perfil o tubo redondo se dobla en el ángulo requerido.
Para fabricar un dispositivo de este tipo, debe:
- muela rodillos y pistas de rodamientos. Esta tarea se puede encomendar a un tornero que, según los dibujos, hará el trabajo de la mejor manera posible. El dispositivo tendrá tres ejes, uno de los cuales está suspendido por resortes, y los otros dos se fijan en los lados del marco;
- Monte el gato de modo que pueda usarse para ajustar fácilmente la carga aerodinámica.
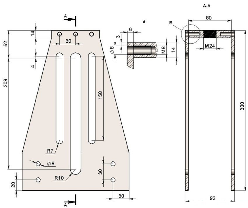
¡Aviso util! Difícilmente podrá hacer una dobladora de tubos rodante sin dibujos y cálculos. Si no tiene conocimientos de ingeniería, es mejor encontrar documentación preparada para hacer una máquina.
Se puede hacer un doblador de tubos para un tubo de perfil con sus propias manos. Su complejidad depende del propósito para el que lo necesite. Si estas son solo acciones únicas, entonces las estructuras de madera son suficientes. Si se dedica a la fabricación de productos a partir de una tubería de forma continua, necesitará una unidad más compleja.