La necesidad de calentar una casa de campo o una cabaña de verano a menudo causa dificultades asociadas con costos financieros innecesarios, así como la necesidad de una instalación larga y compleja. Sin embargo, también existen soluciones alternativas. Considere una de las opciones más convenientes y populares en la actualidad: un convector de gas embotellado: los precios, las características del modelo y las características operativas se presentarán en el artículo.
Contenido
- 1 ¿Para qué se utiliza un convector de gas de cilindro de gas?
- 2 ¿Cómo funciona un convector de gas para calefacción?
- 3 Cómo calcular la potencia y el caudal de gas de un convector de gas envasado
- 4 Convector de gas en gas envasado: precios de los dispositivos de calefacción.
- 5 Resumen de modelos de convectores de gas sobre gas natural: precios, reseñas y características.
- 6 Instalación de un convector de gas con sus propias manos: video y consejos para la instalación.
¿Para qué se utiliza un convector de gas de cilindro de gas?
Los europeos han utilizado durante mucho tiempo los convectores de calefacción de gas como uno de los dispositivos más económicos para la calefacción de espacios. Funcionan con gas natural, eliminan la necesidad de equipos de estufa anticuados para los propietarios, al tiempo que reducen los costos de calefacción. A primera vista, puede parecer que es más fácil instalar una caldera de gas, pero en realidad, la compra de un convector reducirá significativamente el presupuesto para organizar la calefacción.
Los convectores de gas natural no se pueden llamar una panacea, porque pueden mantener la temperatura deseada solo en una casa pequeña, un anexo o un garaje. De hecho, si usa calefacción no en invierno, pero, por ejemplo, en primavera u otoño, esto será suficiente para mantener una temperatura agradable en la habitación y no se necesitará un dispositivo de alta potencia.
Un convector de gas para calefacción es la mejor salida si la casa no está conectada a un sistema de suministro de energía centralizado o si a menudo hay cortes de energía en la red. Por lo tanto, puede garantizar un calentamiento autónomo constante de su hogar. Además, este método es varias veces más económico.
Hay modelos de calentadores que inicialmente prevén la posibilidad de utilizar gas licuado como combustible, pero para muchos modelos es necesario adquirir un adaptador especial. El mismo cilindro de gas, en condiciones adecuadas de almacenamiento, se puede colocar directamente en la casa.
¡Aviso util! El gas licuado en un cilindro se puede almacenar al aire libre. Para hacer esto, primero debe construir un gabinete de metal para ello.

Los cilindros de propano para el convector se pueden colocar en el exterior equipando un lugar especial
¿Cómo funciona un convector de gas para calefacción?
Una de las principales ventajas de las que puede presumir un convector de gas que funciona con gas envasado es que su eficiencia alcanza casi el 90%. Al mismo tiempo, el esquema de su funcionamiento es muy simple: la combustión de gas se produce en una cámara especial, donde se suministra constantemente aire fresco del medio ambiente. Esto mantiene una llama que calienta el intercambiador de calor.
A su vez, el aire frío de la habitación, que ingresa al convector, choca con el intercambiador de calor y se calienta. El aire caliente vuelve a la habitación a través de unas rejillas especiales instaladas en la parte superior del dispositivo. El ciclo se repite constantemente y termina solo cuando el indicador del dispositivo alcanza la marca establecida.
Aquí es importante prestar atención a la presencia de un termostato de alta calidad, ya que es él quien le permite evitar el sobrecalentamiento del aire en la habitación y utilizar económicamente las reservas de gas. La capacidad de establecer la temperatura del aire deseada es otra ventaja de usar este dispositivo en particular.
¡Aviso util! Para evitar la entrada de productos de combustión al aire, es necesario realizar una salida especial a la chimenea.
Cómo calcular la potencia y el caudal de gas de un convector de gas envasado
El primer criterio que determinará la elección de un convector: ¿está previsto que se utilice como fuente principal de calor o como una adicional? Consideremos ambas opciones.
Si el convector de gas es la principal fuente de calor que calienta la habitación, se utilizarán 40 W / m³ para los cálculos. Esto significa que se deben utilizar 40 W de potencia eléctrica para calentar 1 m³ de espacio. Los cálculos adicionales son extremadamente simples: el volumen de la habitación se multiplica por 40 y se encuentra la potencia requerida del dispositivo.
A menudo puede encontrar otra fórmula para calcular: 100 W / m². A primera vista, puede parecer que es mucho más fácil de calcular de esta manera, pero es incorrecto hacerlo. La altura de los techos en las casas de campo puede ser muy diferente, y si no lo tiene en cuenta en los cálculos, es posible que el dispositivo comprado al final simplemente no pueda hacer frente a la tarea en cuestión.
Como ejemplo, calcularemos la potencia requerida del dispositivo para una habitación con un área de 25 m² y una altura de techo de 3.2 m. Usando la fórmula, obtenemos: 25x3.2x40 = 3200 W.
Si la potencia requerida es demasiado alta y no puede encontrar un dispositivo adecuado a la venta, tiene sentido comprar dos o más dispositivos y colocarlos debajo de las ventanas.
Colocar convectores debajo de las ventanas es una de las mejores opciones, ya que, debido a su capacidad para cortar el aire frío que entra por la ventana, ayudan a mantener aún mejor la temperatura ambiente deseada.
La segunda opción para usar el convector es más común que la primera. En este caso, el dispositivo se utiliza como una fuente adicional de calor y funciona en conjunto con otros dispositivos cuando su potencia es insuficiente. Entonces, en heladas severas, puede ser necesario encender el convector para crear una temperatura agradable en la habitación.
Si planea usar el convector para este mismo propósito, entonces los cálculos deben hacerse a partir de los siguientes indicadores: 25-35 W / m³. Aquí, todas las recomendaciones siguen siendo las mismas y la fórmula de cálculo no cambia. Por ejemplo, para una habitación de 25 m² con una altura de techo de 3,2 m, el cálculo se verá así: 25x3,2x30 = 2400 W.
Si hablamos del consumo de gas de un convector de gas por día, aquí los indicadores pueden ser muy diversos, dependiendo de muchos factores diferentes.Como pauta, utilice un valor igual a 0,09 kg de gas licuado embotellado por 1 kW de potencia térmica del dispositivo.
Convector de gas en gas envasado: precios de los dispositivos de calefacción.
Antes de comprar un convector de calefacción a gas, debe comprender en qué consiste su precio y por qué algunos modelos pueden costar más que otros. En primer lugar, depende del material del que esté hecho el intercambiador de calor, así como de algunas características de diseño. La calidad de los dispositivos utilizados para controlar la temperatura también puede afectar el costo.

El costo de un calentador de gas puede depender del material del cuerpo, la calidad del termostato y la funcionalidad.
¡Aviso util! Asegúrese de prestar atención al hecho de que toda la documentación relacionada con el mantenimiento adicional del dispositivo se haya completado correctamente. De lo contrario, tendrá que reparar el convector de gas usted mismo o contratar a un especialista por su cuenta.
Un intercambiador de calor de hierro fundido es mucho más caro que uno de acero. Su vida útil está garantizada por 50 años. Entonces, en este caso, el desperdicio estará justificado. En cuanto a las características de diseño, esto significa la presencia de una chimenea vertical u horizontal.
En este caso no hay diferencia fundamental, pero vale la pena partir de que los sistemas verticales, aunque tienen gran potencia, no se pueden instalar en todas partes. Por ejemplo, para un dormitorio, esta no es una opción adecuada debido al gran volumen de gas quemado.
Otro factor que afecta el precio del dispositivo es la presencia de un ventilador. Un convector de gas con ventilador asegura una circulación de aire más intensa en la habitación. Al mismo tiempo, el precio de un convector de pared de gas no diferirá demasiado de un modelo de piso con los mismos parámetros.
El precio promedio de este tipo de dispositivo oscila entre 20 y 30 mil rublos. Sin embargo, puede encontrar modelos baratos por 10-12 mil rublos y dispositivos más caros. Todo depende de la potencia y la disponibilidad de funciones adicionales. Más adelante se discutirán más detalles sobre los precios de convectores específicos.
Resumen de modelos de convectores de gas sobre gas natural: precios, reseñas y características.
Los precios de los convectores de gas natural, así como su variedad, no están limitados por nada. Por eso, hoy no es difícil elegir la opción correcta. Considere los modelos más populares de calentadores de gas para casas de verano. Los convectores de estos fabricantes casi siempre reciben solo revisiones de aprobación.
Convectores de gas Alpine Air
Los convectores de gas de pared de producción turca ocupan una de las posiciones de liderazgo en el mercado moderno. Son convenientes, compactos, eficientes y asequibles. Para obtener una imagen completa del producto propuesto, considere varios modelos en forma de tabla comparativa.
Modelo convector | Dimensiones, mm | Peso, kg | Potencia, W | Consumo de gas m³ / hora | Diámetro de la chimenea, mm | Ventilador incorporado | Intercambiador de calor | precio, frotar. |
Aire alpino NGS-20 | 630 x 455 x 220 | 22 | 2200 | 0,24 | 150 | No | hierro fundido | 17000 |
Aire alpino NGS-30F | 360 x 455 x 220 | 22 | 3000 | 0,32 | Ahi esta | 19200 | ||
Aire alpino NGS-50 | 630 x 605 x 220 | 30 | 4900 | 0,51 | No | 20000 | ||
Alpine Air DT-5000 | 550 x 607 x 310 | 20 | 5000 | 0,46 | No | acero | 11900 |
Cualquiera de estos modelos se puede seleccionar para uso doméstico. Se debe seleccionar la opción más adecuada, centrándose en el área de la habitación que se calentará, así como en sus propias capacidades financieras.
¡Aviso util! No debe comprar un dispositivo demasiado potente para una habitación pequeña. Esto no producirá más que un sobrecalentamiento del aire y un consumo excesivo de gas.
Convector de gas Hosseven
El convector de gas Нosseven HDU 3 es quizás el representante más popular de esta empresa turca en nuestro país. Con un costo promedio de alrededor de 22,850 rublos, tiene una potencia bastante decente de 3000 W y es un competidor digno de modelos similares. Parámetros del dispositivo:
- dimensiones: 635x470x270 mm;
- peso: 23,8 kg;
- cámara de combustión: hierro fundido;
- no hay ventilador incorporado en el dispositivo.
Una característica de este diseño es que la entrada de aire se realiza a través de un tubo telescópico horizontal especial, que se conecta al convector desde la parte posterior. Por lo tanto, el dispositivo no absorbe oxígeno dentro de la habitación y no necesita una chimenea tradicional.
Convector de gas cilíndrico: revisiones y ventajas de uso.
Si resumimos toda la información considerada, y también tenemos en cuenta las revisiones, los convectores de gas pueden atribuirse bastante a las mejores opciones para resolver el problema, tanto con calefacción principal como adicional. Entre sus ventajas se encuentran:
- total autonomía, independencia de la fuente de alimentación o cualquier otra comunicación;
- facilidad de instalación en comparación con las calderas de gas;
- economía de uso y bajos costos de combustible;
- no es necesario equipar una sala de calderas especial para instalar el dispositivo;
- no hay necesidad de temer que el agua del sistema se congele;
- el proceso de calentar el aire a la temperatura requerida ocurre muy rápidamente.
El cuidado de este tipo de dispositivos también se puede atribuir a sus beneficios. La simplicidad del diseño permite, si es necesario, reparar el convector de gas con sus propias manos, si el período de garantía ya ha expirado. Sin embargo, será más seguro buscar ayuda de especialistas para evitar posibles problemas con fugas de gas, etc.
Instalación de un convector de gas con sus propias manos: video y consejos para la instalación.
Para realizar trabajos en la instalación de un convector de gas montado en la pared sin la participación de especialistas, necesitará varias herramientas y la capacidad de usarlas:
- taladrar con taladros;
- perforador con corona;
- destornilladores;
- espuma de poliuretano;
- llaves de diámetros apropiados;
- tacos y tornillos de plástico;
- convector
- Cilindro de gas;
- kit de suministro de gas.
En primer lugar, decida el lugar donde planea instalar el dispositivo. Hay requisitos estipulados por GOST: si es posible, el convector de gas debe instalarse debajo de la ventana. Si por las peculiaridades del diseño esto no es posible, es necesario colocarlo lo más cerca posible de la ventana.
¡Aviso util! Es importante no solo elegir un lugar, sino también asegurarse de que el modelo de convector que ha comprado se ajuste allí y no interfiera con los muebles o el movimiento libre por la habitación.
Después de eso, puede proceder a medir y marcar los orificios requeridos. Para ello, se utilizan una cinta métrica y un lápiz. El punto más importante en esta etapa es determinar claramente dónde se ubicará la entrada de gas si planea instalar el cilindro en otra habitación o al aire libre.
Taladre los agujeros necesarios e introduzca las clavijas en ellos. Fije el convector a la pared con tornillos autorroscantes. Selle las grietas y aberturas con espuma de poliuretano que podría ser una fuente de aire frío. Después de eso, puede ir directamente a la conexión del cilindro de gas al convector.

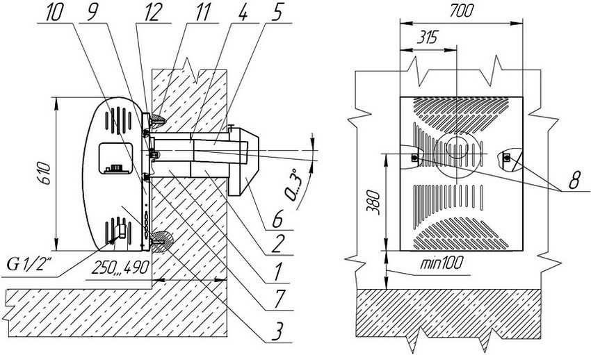
Instalación de convectores. 1 - tubería de derivación del conducto de aire; 2 - sección del conducto de aire; 3 - convector; 4 - tubo de chimenea; 5 - sección de chimenea; 6 - rejilla protectora; 7 - sellador; 8 - tuerca de fijación del intercambiador de calor; 9 - perno de montaje; 10 - placa de montaje; 11 - manguito de montaje; 12 - tornillo autorroscante
La instalación de un convector de gas se completa con una prueba de funcionamiento, que se lleva a cabo solo después de asegurarse de que todas las juntas estén apretadas y que no haya fugas de gas en ninguna parte. Después de la primera puesta en marcha, asegúrese de ajustar el dispositivo.
¡Aviso util! Durante las primeras horas de funcionamiento, la cámara se quemará y es posible que huela a aceite quemado.Esto no es peligroso y se puede eliminar fácilmente ventilando la habitación.
Entonces, si decide comprar un convector de gas embotellado, entonces tiene una elección difícil. Antes de comprar, asegúrese de realizar todos los cálculos necesarios y decidir qué tipo de dispositivo es el más adecuado para usted. Después de eso, podrá tomar la decisión correcta y proporcionar calor a su hogar, garaje o extensión durante la temporada de frío.