Manapság az I-gerendák nagyon népszerűek az építőiparban és más iparágakban, amelyeket egyedülálló erejük és megbízhatóságuk jellemez. A termék képes ellenállni a négyzet alakú, kerek vagy téglalap alakú keresztmetszetű szerkezeteknél jellemzőnél nagyobb terhelésnek. Az I-gerendák választékát a típusok széles skálája különbözteti meg, és minden termék a jelenlegi szabványoknak megfelelően készül.
Tartalom
- 1 A GOST által szabályozott I-gerendák: jellemzők és tervezési jellemzők
- 2 A gyártási profilok változatai a GOST I-gerenda szerint
- 3 Építési paraméterek az I-gerendák tartományának megfelelően
- 4 Az I-gerendák választéka: gyártási anyagok köre és metszetforma
- 5 A GOST 26020-83 követelményei: melegen hengerelt acél I-gerendák választéka
- 6 A GOST 8239-89 követelményei: melegen hengerelt acél I-gerendák választéka
- 7 Az I sugár kiszámítása a termék teherbírásának meghatározására
- 8 Az I-gerendák hazai gyártói: termékárak
- 9 Az I-gerendák jellemzői: a fatermékek jellemzői
A GOST által szabályozott I-gerendák: jellemzők és tervezési jellemzők
Mi az I sugár? Ez a kialakítás fém profil, H alakú szakaszsal. A termék szokásos méreteit, alakját és a műszaki paraméterek legnagyobb megengedett eltéréseit a GOST 26020-83 és a GOST 8239-89 szigorúan szabályozza. A szabványok meghatározzák az I-gerendák típusait és a jelölés sorrendjét.
Más típusú hengerelt fémek, például egy csatorna, amelynek tartományát a GOST 8240-97 szabványosítja, az I-gerendát (a GOST 26020-83 meghatározza a termékszakasz egyedi alakját) a legnagyobb merevség és szilárdság jellemzi. A feszültség egyenletesen oszlik el a gerenda teljes területén, ami jelentősen csökkenti a felhasznált anyag mennyiségét.
Ha összehasonlítjuk a H alakú profil és egy szilárd rúd szakítószilárdságát, ugyanazt az értéket kapjuk, míg az I-sugár tömege 10-szer kisebb. A szomszédosan elhelyezett termékek szilárdságát összegzéssel, az egymásra helyezett termékeket pedig négyszeres növekedéssel határozzuk meg.
Fontos! Az I-acél használata lehetővé teszi a szerkezet tömegének könnyítését, csökkentve az építési költségeket.
Az I-gerendákat széles körben használják hidraulikus szerkezetek, többszintes épületek padlóinak és tartószerkezeteinek építéséhez. Ez annak köszönhető, hogy a termékek ellenállnak a megnövekedett terheléseknek, és ellenállnak a mechanikai igénybevételeknek. A profilok meglehetősen gyakoriak az ipari építésben.

Az I-gerendát gyakran használják fémvázszerkezetekben, épületekben, valamint ipari és polgári építményekben
A nagy teherbírás miatt, amely egyenletesen oszlik el az egész terméken, tanácsos ilyen szerkezeti elemeket használni 7 m-nél hosszabb fesztávolság esetén. A felső átjárók és hidak építésénél elengedhetetlen az I-gerenda, amely összefüggésben van azzal, hogy a profilok képesek érzékelni a megnövekedett függőleges terheléseket.
A gyártási profilok változatai a GOST I-gerenda szerint
Az I-gerendákra vonatkozó GOST-ok meghatározzák, hogy a termékeket kétféleképpen lehet előállítani. Az első lehetőség profilok gyártását foglalja magában 3–12 m hosszú tuskókból történő hengerléssel, amelyeket 1200 ° C hőmérsékleten dolgoznak fel. Ezt a folyamatot speciális gépeken hajtják végre. A gyártáshoz szerkezeti acélt használnak, amely nem tartalmaz ötvöző adalékokat.
Ez a technológia megkönnyíti a monolit termékek gyors előállítását. Az ilyen elemek fokozott ellenállást mutatnak a különféle mechanikai igénybevételekkel szemben. A technológia lehetővé teszi az épületrészek használatát további merevítők használata nélkül.
A termék egyedi formája lehetővé teszi a szerkezet súlyának csökkentését, ugyanakkor növeli annak teherbírását. A terhelést egyenletesen elosztó polcok kiküszöbölik a szerkezet torzulásának lehetőségét.
A H alakú profil hegesztéssel három elemből is elkészíthető. Ez a technológia lehetővé teszi, hogy a monolit szerkezetekhez képest kisebb keresztmetszetet kapjon.
Fontos! A különféle acélminőségű elemek használatának köszönhetően csökkenthető a hegesztett termék költsége.
Az I-gerenda hegesztésének folyamata a következő sorrendben történik:
- acéllemezek vágása CNC-gépeken;
- fémdarabok hegesztése automatizált berendezéseken hidraulikus bilincsekkel;
- struktúrák szerkesztése a szabvány által előírt paraméterek alapján.
A hegesztett technológia módszerével I-gerendákat lehet beszerezni, amelyek 1 méterenkénti ára függ geometriai paramétereiktől, a polcok különböző szélességétől és vastagságától. Rendelhet egy bizonyos hosszúságú terméket kivágásokkal és furatokkal a profil testében történő rögzítéshez.

A H alakú gerenda nagyobb megbízhatósága érdekében a csatlakoztatandó elemeket mindkét oldalon hegesztik
Ha az I-gerendákat modern berendezéseken gyártják, akkor a termékek műszaki jellemzőiknél nem alacsonyabbak a melegen hengerelt társaiknál. Elavult berendezések és alacsony szén-dioxid-kibocsátású acélminőségek használata esetén az építőelemeket alacsony teljesítmény jellemzi.
Építési paraméterek az I-gerendák tartományának megfelelően
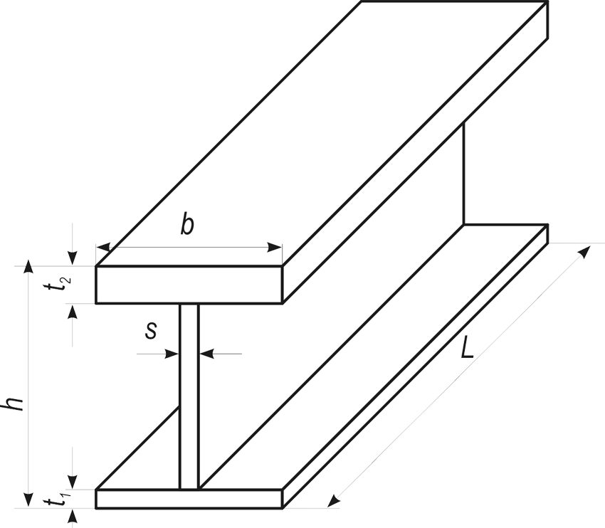
Az I-gerendák kiválasztásakor egy bizonyos típusú feladat elvégzéséhez figyelembe kell venni a fő paramétereiket:
- magasság - az I-sugár karimái közötti távolság;
- szélesség - a termék alapjától a polc végéig tartó rés nagysága;
- falvastagság, amelyet a termék alapja alapján számolnak, és meghatározza a szerkezet szilárdságát és teherbírását;
- az átlagos karimavastagság, amelyet úgy határoznak meg, hogy kivonják a falvastagságot a karima szélességéből, az eredményt elosztva 4-gyel;
- a polcok támasztékával kialakított belső görbület sugara, amely a legnagyobb terhelést éri el, amely meghatározza a termék merevségének és szilárdságának töltését.
Fontos! A polc nem lehet derékszögben a falhoz. A kereszteződésben kialakult sugár növeli a termék szilárdságát.

A gerenda célja különböző paraméterektől függ, mint például a magasság, a szélesség, a falak és a karimák vastagsága, a belső görbület sugara
Az I-gerendák kijelölésére a tervdokumentációban egy feliratot használnak, amelyet bizonyos módon elkészítenek. A betű jelzi a termék típusát, amely lehet normál, oszlopos vagy széles polcú. A "D" betű további, a szabvány által szabályozott, meghatározott paraméterekkel rendelkező profilok sorozatát jelöli.
A betű előtti számérték az I-sugár magasságának felel meg centiméterben. A betű utáni szám meghatározza az elem módosítását. Minél nagyobb a szám, annál vastagabb és nehezebb a termék. Ezenkívül fel van tüntetve annak a szabványnak a száma, amely szerint az I gerendát gyártják. A végén a szerkezet elkészítéséhez szükséges anyagot írják elő. Például a 35SH1 gerenda egy széles karimájú I gerenda, amelynek magassága 350 mm.
Az I-gerendák választéka: gyártási anyagok köre és metszetforma
A jelenlegi szabvány többféle I-gerendát határoz meg, különböző méretjellemzőkkel, tömeggel és metszetformával, amelyet az anyagok nómenklatúrája határoz meg.
A H alakú hengerelt fémet más metszet alakja jellemzi. A GOST 8239-89 által szabályozott, melegen hengerelt acél I gerendák esetében a fali polcok 8-12 ° szöget zárnak be. A terméket támasztó daruként használják a telfer vonalakhoz. A tervdokumentációban "B" betűvel jelölt normál I gerendát (a GOST 26020-83 szerint) párhuzamos karimaszélekkel készítik. Ez leegyszerűsíti a gyártási folyamatot, ugyanakkor csökkenti a profil deformációval szembeni ellenállását.
A széles karimájú I gerendának (a GOST 26020-83 egy "Ш" jelöléssel ellátott terméket jelöl) a polcok szélessége 1,5-szer nagyobb, mint a fenti hengerelt fémtermékek esetében. Ez pozitív hatással van a szerkezet merevségére, szilárdságára és tartósságára. Ennek eredményeként 40% -kal nagyobb terhelést képes elviselni, mint egy normál sugár.
A GOST 26020-83 szerinti I oszlop gerendákat "K" betűvel jelöljük. A termékek maximális polcszélessége megnövelt vastagsággal rendelkezik, ami lehetővé teszi nagy szilárdságú termék beszerzését. Az I gerendát különösen kritikus szerkezetek építésénél használják.
Lépcsők, padlók, tartók, rácsok, hidak és különféle hidraulikus szerkezetek létrehozásához normál I gerendát használnak, amelyet a GOST 26020-83 szabályoz. Széles karimás gerendák alkalmazhatók teherhordó padlószerkezetekben és lépcsőkben. Az ipari építkezésnél főleg oszlopszerkezeteket használnak.
A GOST 8239-89 és a GOST 26020-83 szerint az I-gerendák választéka az I-gerendák gyártásához használt anyagok következő nómenklatúráját tartalmazza:
- a GOST 380-2005 által szabályozott rendes minőségű szénacél nyugodt, forró és félstabil lehet, amelyet a szilárdság, a műszaki jellemzők és az ár optimális aránya jellemez;
- az építőacél a GOST 27772-88 szerint megkülönböztetett követelményeket támaszt a nyersanyagok káros szennyeződésének tartalmára vonatkozóan;
- alumíniumötvözetet (a GOST 4784-97 szerint) könnyű profilú termékek létrehozására használják, amelyekre nagy esztétikai és maró tulajdonságok jellemzők;
- nagy szilárdságú acél hídépítéshez, amely megfelel a GOST 4784-97 követelményeinek, különösen kritikus szerkezetek építésénél alkalmazzák, és fokozottan ellenáll a ciklikus terhelések hatásának.
A GOST 26020-83 követelményei: melegen hengerelt acél I-gerendák választéka
Ez a szabvány megadja a melegen hengerelt acél H alakú szakaszokat, amelyeknek párhuzamos élük van. Az I-sugár méretét ez a GOST szigorúan szabályozza. A termékpolcok magassága 100-1000 mm, szélessége 55-400 mm.
A GOST 8240-97 szerint készített csatorna méreteivel ellentétben az I-gerendák választékát a vastagság széles értéktartománya jellemzi, amely 100-600 mm tartományban van. Az ilyen I-gerendák normálisak lehetnek - "B" jelzéssel, széles karimájú - "W", oszlopok - "K" és további - "D" jelöléssel rendelkeznek.

A melegen hengerelt acél I gerenda ellenáll a nagy terhelésnek, ezért többszintes épületek építésénél alkalmazzák
A széles karimájú I-gerendák választéka 193-718 mm magasságú profilokat határoz meg, amelyek további rögzítés nélkül használhatók. Az ilyen termékeket alapként használják vasbeton födémek vagy acéllemezek fektetéséhez.
Az ilyen típusú elemek képesek ellenállni a jelentős terheléseknek, ezért gyakran használják emeletes épületek építésénél. A rácsszerkezetek T-profiljai 50SH1 széles karimájú I gerendákból készülnek.
Fontos! A megnövelt karimaszélesség miatt az I típusú széles peremű gerendák maximális merevséggel rendelkeznek, ami lehetővé teszi, hogy független tartóelemként alkalmazzák őket.
A gerendákat a következő hosszúságokban állítják elő: mérve, nem mérve, szegmenssel mérve, többszörösen mérve, többszörösen mérve 6 és 24 m közötti szegmenssel. Ezt az értéket a hossztengelyre merőleges végű feltételes vágási profil maximális hosszaként határozzuk meg.
A szegmens olyan profilok, amelyek paramétere legalább 3 m, olyan termékek esetében, amelyek lineáris sűrűsége legfeljebb 20 kg / m, és legalább 4 m - sűrűségük meghaladja a 20 kg / m-t. A szabvány lehetővé teszi korlátozott hosszúságú I-gerendák gyártását, amelyek a nyomtávolságon kívül esnek, ami a 30SH1 gerendákra a legjellemzőbb.
Kapcsolódó cikk:
I-gerenda: mérettáblázat, a profilok súlya és műszaki jellemzői
Tervezési és gyártási jellemzők. Az I-gerendákra jellemző: 12, 14, 16, 18, 20, 24, 25, 30, 36 és 40. Méretek és súlyok táblázata.
A GOST 8239-89 követelményei: melegen hengerelt acél I-gerendák választéka
A polcok belső széleinek 6-12 ° -os lejtéssel rendelkező, melegen hengerelt acél I-gerendák tartományát a GOST 8239-89 szabályozza. Az I gerendák nagy és normál pontossággal készülhetnek forró hengerléssel, és a gyártás módját a termék hatóköre alapján határozzák meg. Ezt a típusú profilt a legalacsonyabb költség jellemzi, és alkalmas gépgyártásra és egy épület szerkezeti elemeinek építésére.
A GOST 8239-89 szerint az I-gerendák magassága 100-600 mm lehet. A profilok hossza 4-12 m között van. A leghosszabb termékek kevésbé megbízhatóak.

A melegen hengerelt acél I gerenda lehetővé teszi az elmozdulások, a zsugorodás és a repedések elkerülését az épületek üzemeltetése során
A szerkezeteket nagy szilárdság, megbízhatóság, fokozott mechanikai igénybevételekkel szembeni ellenállás és hosszú működési idő jellemzi, anélkül, hogy a termék geometriai jellemzőit megsértenék. A profil összes fő paramétere: magasság, a polc szélessége, a polc és a falak vastagsága, ellenállási nyomaték, az I-sugár tehetetlenségi nyomatéka, a tehetetlenségi sugár szerepel a termékpalettán.
Hasznos tanácsok! Az I gerenda egyedi méretekre készíthető, ami befolyásolja a termék költségeit.
Az élek helyzetétől függően az I gerenda "Y" vagy párhuzamos ("P") jelöléssel hajtható. Az ilyen szerkezeteket széles körben használják lakó- és ipari létesítmények, pavilonok, hidak, tárolók és oszlopok építésében. A 10% -os lejtésű I-gerendákat felsővágányok telepítésére szánják. A 12% -os lejtésű szerkezetek alkalmazhatók a bányatengelyek megerősítésében és megerősítésében.
Az I sugár kiszámítása a termék teherbírásának meghatározására
A költségek minimalizálása, a szerkezet könnyítése, a munka- és anyagköltségek csökkentése nélkül, a szerkezet szilárdságának károsítása nélkül, elvégzik az I-sugár kiszámítását. A termékprofil kiválasztásának kezdeti adatai a teherbírás, a fesztávolság, a kialakítás és a normál terhelés, az I-gerendák száma és a tervezési ellenállás függvényében.
A fesztávolság a rövid falak belső széle közötti távolság. A standard terhelést a termékkeverék táblázatból vesszük, a kiszámított értéket úgy számoljuk ki, hogy ezt az értéket megszorozzuk a nyaláb magasságával. Az acélminőségtől függő tervezési ellenállást feltételezzük 210 MPa-nak.
Az I-sugár terhelését a következőképpen határozzák meg:
- a padló teljes terhelését összesítik, figyelembe véve a profil súlyát, amelyet a termék 1 futó méterére számolnak;
- a kapott értéket megszorozzuk az acél megbízhatósági és rugalmassági együtthatójával;
- az ellenállás pillanatának értékét a GOST számított értékeinek táblázata alapján határozzák meg;
- az ellenállás pillanatáig a profil számát az I-gerenda választék táblázatból választják ki.
Az I-gerendák hazai gyártói: termékárak
Manapság az építkezési piacon több ismert márkanév található, amelyek a fémszerkezetek gyártására specializálódtak. A fém I-gerendák ára függ a termék műszaki paramétereitől, méreteitől és a vállalati politikától.
Az oroszországi I-gerendák fő gyártója a Nyizsni Tagil kohászati üzem, amely kiváló minőségű tanúsított termékeket gyárt, amelyek teljes mértékben megfelelnek az alkalmazandó szabványoknak.
A gyártó katalógusai tartalmaznak minden típusú párhuzamos karimájú I-gerendát és a belső élek lejtésével ellátott termékeket. Az építőiparban a legnépszerűbb a 40SH1 gerenda, amely 55 ezer rubel áron vásárolható meg. tonnánként.
A nyugat-szibériai kohászati üzem a GOST 26020-83 szabványnak megfelelő párhuzamos karimájú I-gerendákat kínál. A termékeket az optimális ár-minőség arány jellemzi. 40B1 gerendát csak 30 ezer rubelért vásárolhat meg. tonnánként.
Az Ariel Metal a hengerelt fém termékek univerzális szállítója. A gyártó katalógusaiban a 09G2S, 35GS és 17G1S acélból, valamint alumínium I-gerendákból készült termékek széles választékát láthatja. A GOST 13621-90 a különböző címletű alumínium gerendákat szabályozza. Egy tonna termék átlagos költsége 50 ezer rubelen belül van.

Az Orosz Föderációban a H-gerendák fő szállítói az "Ariel Metal", a Nyizsni Tagil és a nyugat-szibériai kohászati kombájnok
Az I-gerendák jellemzői: a fatermékek jellemzői
Újdonság az építési piacon egy fából készült I gerenda, amely felhasználható egy szerkezet vázának rendezésére, padlószintes padlók telepítésére, szarufa rendszer telepítésére, tetőterek és erkélyek rekonstrukciójára.
Az I gerenda két gyalult tűlevelű gerendából és egy közöttük elhelyezett OSB lemezből áll. Egy ilyen szerkezet képes nagy hajlító terhelést elviselni anélkül, hogy a termék deformálódna, és anélkül, hogy megerősítő segédszerkezeteket használna.
A gerenda idővel nem szárad ki, nem korrodálódik és a külső tényezők hatására a deformáció megváltozik. Az élettartam meghosszabbítása érdekében a termék nem igényel külön impregnálást és festést. A fa I gerendát kopásállóság, szilárdság és nagy teherbírás jellemzi.
Hasznos tanácsok! A fa I-gerendák használata a padló fektetésekor lehetővé teszi, hogy ne simítsa be.

A fa I gerendát a nehéz terhelések ellenállása, a bonyolult telepítési folyamat, a gazdasági megvalósíthatóság és az alacsony hővezető képesség jellemzi
A termék sík és sima felülettel rendelkezik, így az anyag ideális padló- és mennyezetszereléshez. A szerkezetek fektetése speciális berendezések bevonása nélkül történik, minimális munkaerőköltséggel és anyagmegtakarítással.
Fa I-gerendák: egy újdonság ára az építési piacon
A fa I-gerendák a padlókhoz, a tetőtartó rendszerek és az épületvázak a következő sorozatokra oszthatók:
- BDK - ragasztott gerenda;
- BDKU - erősített ragasztott;
- BDKSH - széles ragasztott;
- SDKU - megerősített fal;
- SDKSH - széles fal.
A BDK gerenda nagy nyomáson szintetikus gyantákkal összeragasztott szerkezeti elemekből áll. A terméket rövid szakaszon használják. Az I sugár ára futó méterenként 300 rubel. 241 mm elemmagassággal. A ragasztott megerősített gerenda megnövelt karimaszélessége 64 mm, amely elegendő a körmök rögzítéséhez. Hosszú fesztávokon használható. A termék ára 320 rubel / lin. m.
A széles ragasztott gerendát 89 mm polcszélesség jellemzi. Az ilyen termékeket olyan szerkezetekhez használják, amelyek rendkívül nagy igénybevételnek vannak kitéve. Futó méter sugarat vásárolhat 400 rubelért.
Megerősített falszerkezetet használnak, amelynek átlagos ára 300 rubel, hogy megteremtsék a vázépület alapját. A széles fagerendát falpanelek telepítésére használják. A gerenda futóméterének költsége 390 rubel.
Ha az "L" betű a jelölés mellett áll, ez azt jelzi, hogy a termék nagy szilárdságú fából készül, ami megnövelt szilárdságot kölcsönöz az I gerendának. A termék szokásos hossza 6 m. A magasság 457 mm, 406 mm, 356 mm, 302 mm, 241 mm lehet.
Az univerzális gerendákat univerzális paraméterekkel széles körben használják az építkezés különböző területein. A szerkezet maximális élettartamának eléréséhez meg kell határozni a terhelést, amelyhez képest a H-alakú profil típusát a termékválasztéknak megfelelően választják meg.