המוזרויות של אזור האקלים שלנו מאפשרות לנו ליהנות גם בקיץ החם וגם בחורפים הקרים. אך כדי שהזיכרון היחיד של החורף האחרון לא יהפוך לפינוי שלג, רבים מחליטים לרכוש מפוח שלג ידני. מכשיר פשוט זה יעזור לכם לבטל מאמצים פיזיים מיותרים וגם יחסוך לכם טונות של זמן. שקול מהן האפשרויות למכשירים ולפי איזה עקרון יש לבחור אותם.
תוֹכֶן
מפוח שלג ידני: היקף המכשיר
מפוח שלג ידני הוא מכשיר שנועד לחסוך לכם את הטרחה בפינוי בית מכוסה שלג בעזרת חפירה. באופן כללי, על מנת להיפטר מהשלג שנשר ולספק לעצמכם מעבר חופשי לכל נקודה, ישנן שלוש דרכים בלבד: לפזר את השלג בעזרת חפירה, להשתמש במפוח שלג או להצטייד במערכת המסת שלג.
ללא ספק האופציה הכי פחות יקרה היא חפירה. אבל אי אפשר שלא להסכים שהשיטה הזו לוקחת הרבה זמן ומאמץ. יתר על כן, שלג חדש יורד ללא הרף בחורף, ואתה יכול לקבל הפתעה לא נעימה בצורה של סופות שלג בכל בוקר. שיטה נוחה יותר, אך יחד עם זאת, וקשה להתקנה היא מערכת המסת השלג. אך ראוי לציין שרבים רואים אפשרות זו יקרה מדי ולא מוצדקת.
לכן מפוח השלג הידני תפס את עמדתו בתוקף בין שיטות פינוי השלג, והוא נמצא בשימוש נרחב בחיי היומיום. הביצועים שלו מאפשרים לכם לפנות שלג מכביש יציאה או מחצר קטנה ששטחה אינו עולה על 400 מ"ר. מ 'אבל כמה מהר אתה יכול לנקות אזור מסוים תלוי ישירות בתנאי מזג האוויר, כמו גם במאפיינים הטכניים של דגם מכשיר מסוים.
גודל הדלי ממלא תפקיד חשוב בתהליך פינוי השלג. אחרי הכל, הפרמטר הזה הוא שקובע כמה גבוהה אתה יכול להסיר את השלג. לפעמים יש בנוסף התאמת גובה עם רגליים נוספות. זה מרחיב מאוד את היכולות של מפוח השלג.
מפוח שלג ידני הוא פיתרון מצוין למי שנוסע לארץ בחורף או גר בבית כפרי. בניגוד למחרש שלג מן המניין, אפשרות זו הרבה יותר קומפקטית. קל יותר לאחסן וקל יותר לטפל בו. בואו ניקח בחשבון כיצד לבחור את הדגם המתאים ביותר עבור עצמכם, לאילו מאפיינים עליכם לשים לב ואיך מכשירים אלה מסודרים.
המכשיר וסוגי מפוח השלג
עקרון הפעולה של מפוח שלג הוא פשוט מאוד: הוא לוכד שלג בדרכו וזורק אותו הצידה, וכך מפנה את השביל שלאורכו הוא נע. בהתאם לתכונות המנגנון המבצע תהליך זה, נבדלות יחידות חד-שלביות ודו-שלביות.
שלבים חד-פעמיים נקראים גם מקדחים, והם משתמשים בצינור מיוחד לזריקת שלג. תהליך זה מתבצע על ידי סיבוב מכני של הבורג. במערכות דו-שלביות, מנגנון הפעולה שונה במקצת: הקידוח אוסף את השלג ואילו החלק השני, הרוטור, אחראי על הפליטה.
תלוי בתנאים שבהם אתה מתכנן להשתמש במחרשת השלג, משטח העבודה של המקדח עשוי להיות שונה. ניתן להשוות את המכשיר שלו לסכין, שקצהו חותך את החלק העליון של השלג ממש. לכן, אם השלג נפל רק לאחרונה, נוח יותר להשתמש בקצה אחיד, בעוד שמשטח משונן יתמודד טוב יותר עם שלג קרח וארוך שנים. בתורם, הקצוות המשוננים שונים במספר ובגודל הסרניים.
תלוי בחומר ממנו הם עשויים, החותלים של מפוחי השלג הידניים הם פלדה, גומי ואפילו פלסטיק. כמובן, לאופציה זו או אחרת יש יתרונות שלה, עם זאת, כולם נכשלים די בקלות כשמתמודדים עם מכשולים כמו אבנים, גדמים ובולי עץ. מושפעים במיוחד מכך מכשירים חד-שלביים, שבהם מהירות הסיבוב של הברגים לזריקת שלג חייבת להיות מקסימאלית.
כיצד לבחור ולקנות מפוח שלג ידני: תכונות עבודת האלמנטים העיקריים
רכישה של מפוח שלג ידני מרמזת על השימוש בו אך ורק בחיי היומיום. עם זאת, גם בשימוש ביתי קיימות דרישות רבות למכשיר זה. וחומר האימפלר הוא אחד העיקריים שבהם. אין ספק שלחלקי מתכת יש יתרון רציני על פני פלסטיק: הם מחזיקים מעמד זמן רב ומסוגלים לעמוד בעומסים משמעותיים. אך יחד עם זאת, העלות של מכשירים כאלה יקרה בהרבה.
נקודה חשובה נוספת היא בחירת המנוע. ברור שהמנוע הוא הכוח המניע העיקרי של כל מנגנון כזה, ותוצאות עבודתך, כמו גם כמות המאמצים שהושקעו, תלויים ישירות באיכותו. שניים מהאתגרים הגדולים ביותר איתם נאלץ להתמודד מנוע מפוח שלג הם טמפרטורות קפואות וחפצים קשים שיכולים להיכנס פנימה. תקלה של רכיב אחד מובילה לתקלה במערכת כולה.
עצה מועילה! חשוב להבין שלמרות המבחר העצום של מפוחי שלג ידניים של מותגים שונים, מעט מאוד חברות משתמשות במנועים משלהן. לעתים קרובות למדי, אותם מנועים נרכשים, אשר פשוט מצוידים בדרכים שונות.

עשה עשה זאת בעצמך מפוח שלג לא קשה, וכתוצאה מכך, אתה יכול להשיג מכשיר טוב במחיר מועט יחסית
כאמצעי מניעה להתרחשות של תקלות, משתמשים בתכנית החיבור הבאה: באמצעות סיכה או בורג גזוז, המשמש כפתיל, המקדח מקובע לפיר ההינע. מערכת זו מאפשרת לבריח או לסיכה להישבר באופן מיידי אם המקדח נחסם.ואכן, הרבה יותר קל להחליף רכיב כל כך קטן מאשר להתמודד עם תיקוני מנוע מורכבים ויקרים.
בהתאם לסוג, ניתן לחלק מנועי מפוח שלג לשתי מחלקות: מנועי בעירה חשמליים ופעימות. משתלם יותר ורציונלי להשתמש באפשרות השנייה, אולם למנועים חשמליים יש גם מספר יתרונות: הם זולים יותר, קלים, אינם מזהמים את האווירה, קלים יותר לתחזוקה ובעלי רמת רעידות נמוכה משמעותית.
כיצד להכין מפוח שלג ידני במו ידיך
לעתים קרובות, בעלי בתים כפריים תוהים ברצינות האם ניתן להרכיב מפוח שלג ידני בכוחות עצמם תוך שימוש בחומרים זמינים לשם כך. והתשובה לשאלה זו חיובית באופן חד משמעי. כמובן שיידרשו מיומנויות וחומרים מסוימים, אך אם תשתמשו בשרטוטים ובהוראות המוצעות באינטרנט, תוכלו לחסוך משמעותית בקניית מפוח שלג.
קודם כל, אתה צריך להחליט איזה סוג של מפוח שלג אתה רוצה להכין. ניתן להרכיב באופן עצמאי מפוח שלג ידני מכני וגם חשמלי. שקול את האלגוריתם ליצירת אחד הנציגים של כל סוג בשלבים.
מפוח שלג מכני ביתי DIY
כדי ליצור את הנציגים הפשוטים ביותר של מפוחי שלג בידיים, תוכלו להשתמש כמעט בכל החלקים והחומרים בהישג יד. חלקי חילוף ממוצרי חשמל ישנים, כמו גם אלמנטים מתכתיים אחרים מתאימים. כמדריך, תוכלו להשתמש בשרטוטים המתאימים או בהוראות שלב אחר שלב.
מסגרת מתכת העשויה צינורות או פינות משמשת כבסיס המבנה. על ידי התקנתו על רצים או גלגלים, יתווסף אליו שאר המנגנון. הדרך הקלה ביותר ליצור רצים היא להשתמש בקוביות עץ בעלות צורה מתאימה, שמתחתיהן מקובעים צינור השקיה חתוך או רצועות פח, פלסטיק וכו '.
עצה מועילה! אם די מקובל להשתמש בחומרים בהישג יד כרצים, סביר להניח שיהיה צורך לרכוש גלגלים בגודל מתאים בנפרד.
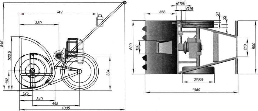
יש לחבר מנוע למסגרת שמספר הסיבובים אינו עולה על 1.5 אלף לדקה, וההספק הוא 5-6 קילוואט. כדי להניע את המנגנון דרך תיבת הילוכים, הדרך הקלה ביותר היא להשתמש בכונן שרשרת ובגלגלי שיניים מאופניים. באשר לנקב, הוא מותקן על צינור מתכת, אשר, בתורו, מחובר לדפנות הצד של דלי השלג בצורה שתוכל להסתובב.
על מנת לייצר את הקידוח בעצמך, אתה זקוק ל -4 להבים, אותם ניתן לחתוך ממתכת או ממסוע. במרכז הצינור מחוברת בנוסף לוחית, שתשמש כבסיס, שתשמש כלהב ותוכל לזרוק שלג לצינור. הלהבים מצידם מחוברים מצד אחד ללהב, ומצד שני לפיר (בחלק מהמקרים ניתן למצוא המלצות לשימוש בפלטה נוספת המחזקת את המבנה). כדי שהמנגנון יעבוד כמו שצריך, יש למקם את הלהבים בכיוונים שונים וליצור ספירלות צולבות.
עצה מועילה! חשוב לחשב נכון את הקוטר הנדרש של טבעות המתכת כך שבמהלך הסיבוב הם לא נוגעים בקיר האחורי של הדלי, אך יחד עם זאת הם לא נמצאים רחוק מדי.
לגבי זריקת שלג, המכשיר של מערכת זו גם לא קשה להתקנה. זה מספיק רק כדי ליצור חור בחלק העליון של התיבה שבו יוחדר הצינור (בדרך כלל הקוטר הוא בין 15 ל -18 ס"מ).
המגע האחרון הוא ידיות הבקרה, שניתן לייצר מפינות מתכת או צינורות.לאחר מכן, כל שנותר הוא לנקות ולצבוע את מפוח השלג המוגמר, ותוכלו להתחיל לעבוד.
מפוח שלג ידני חשמלי DIY: הוראות שלב אחר שלב
האלגוריתם ליצירת מפוח שלג חשמלי נראה קצת שונה. בתהליך היצירה, מכשיר כזה הוא בהחלט קצת יותר מסובך, אולם עבודה נוספת איתו תהיה קלה בהרבה בהשוואה לדגמים מכניים. שקול את ההוראות שלב אחר שלב להרכבת מבנה כזה:
- יצירת בורג. התהליך של ייצור מקדח למפוח שלג חשמלי אינו שונה בהרבה מזה מכני. באותו אופן יידרש פיר וטבעות. בנוסף לוחית מחוברת למרכז הצינור הראשי, שמזין שלג למוצא היציאה;
- ייצור דלי. עבור הדלי, עדיף להשתמש בברזל קירוי, מכיוון שהוא חזק מספיק, ובאותה עת יש לו את כל התכונות הדרושות. תכנונו פשוט ביותר: עליו לכסות את הבורג משלושה צדדים;
עצה מועילה! דפנות הדלי לא צריכות להיות מתכות. הם יכולים גם להיות עשויים דיקט בעובי 10 מ"מ לפחות.
- באמצעות מיסבים בעלי יישור עצמי, מוצמד פיר עם מקדח לדפנות הצד. במקרה זה, המרחק מקצוות הספירלה לקיר הפנימי של הדלי צריך להיות לפחות 2 ס"מ. פיסת צינור ביוב בקוטר 15 ס"מ ומעלה מושלמת לסידור צנרת היציאה. הכלל העיקרי במקרה זה הוא שקוטר צינור היציאה חייב להיות גדול מרוחב הלוח, האחראי על פליטת השלג;
- להתקנה אמינה ונוחה של מנוע חשמלי, מיוצרת בנוסף מסגרת בצורת U המורכבת מפינות מתכת. לצורך קיבוע נוסף של המנוע משתמשים ברצועות מתכת;
- על מנת להבטיח תנועה נוחה ואחידה של המכשיר, משתמשים גם בגלגלים או במגלשיים. חשוב כאן שהמרחק מהם למסגרת יהיה מינימלי. אם תחליט לבחור בגלגלים, שים לב שהם עמידים בפני כפור ומספקים אחיזה מירבית של מפוח השלג עם המשטח;
- אם אתה רוצה ליצור מבנה סיבובי, עליך להוסיף מבנה שהוא ציר עם ארבע לוחות מלבניים. לאיסוף טוב יותר של שלג, עליהם להיות בעלי חישוקים מיוחדים בקצוות. במקרה זה, חשוב להקפיד על הפרופורציות כדי שהרוטור לא יבוא במגע עם הדלי במהלך הפעולה;
מאמר קשור:
מפוח שלג לטרקטור מאחור: עקרון הפעולה ויסודות ההרכבה העצמית
איך להרכיב לבד. אפשרויות ייצור מפוחי שלג. מאפייני דגמים שונים. הוראות להתקנה עצמית.
- השלב הבא הוא ההבדל העיקרי בין מפוח שלג חשמלי למכני - מנוע חשמלי. למטרה זו, כל מכשיר בעל הספק של כ- 1 קילוואט מתאים. כאן, העיקר הוא לספק הגנה אמינה מפני שלג ומים על מנת למנוע תקלה וקצר. כדאי לשים לב גם למצב הכבל ולאורכו: אסור לו לפגוע, ואורכו צריך להיות מספיק;
- בסוף העבודה, יש צורך להבטיח את החיבור בין המקדח למנוע. לשם כך תוכלו להשתמש בשתי שיטות: הזנת חגורה או שימוש בתיבת הילוכים. האפשרות הראשונה אפשרית רק אם צירי המנוע והציר מקבילים. במקרה זה, הם מחוברים זה לזה באמצעות חגורת הילוכים. האפשרות השנייה דורשת מיקום ניצב של הפיר והמנוע.
מפוח שלג ידני מוכן: מחיר ומאפיינים של הדגם הפופולרי ביותר
אם לאחר קריאת ההוראות להכנת מפוח שלג ידני על גלגלים במו ידיך, תגיע למסקנה שמאמצים כאלה אינם מוצדקים, והרבה יותר קל לרכוש מכשיר מוכן, שקול את שני הדגמים הפופולריים ביותר המשלבים ביצועים גבוהים ומחיר סביר.
מפוח שלג מכני Forte QI JY 50
מפוח השלג הידני של Forte QI JY 50 הוא מכשיר פשוט אך שימושי בכל הנוגע לניקוי אזורים קטנים. עם משקל קל מאוד (3.82 ק"ג בלבד) ומידות קטנות, מפוח השלג הזה מאפשר לכם לנקות גם את האזורים הכי קשים להשגה ביעילות.
לייצור מפוח השלג הידני של פורטה משתמשים רק בפלסטיק כבד, שעל פי היצרן מסוגל לעמוד בעומסים חמורים.
עם זאת, לפני שאתה קונה מפוח שלג מכני Forte QI JY 50, אנו ממליצים לשים לב לביקורות של קונים אמיתיים המשתמשים במכשיר זה. לדברי רבים מהם, מפוח השלג הזה מתמודד היטב עם שלג רפוי שנפל לאחרונה. אך שלג רטוב ומיושן סותם את המנגנון במהירות מספקת, ומשפיע לרעה על מהירות העבודה.
תכונה נוספת שעליך לדעת לפני שקונים מפוח שלג ידני של Forte QI JY 50 היא שהיא מסוגלת לזרוק שלג רק לצד ימין. אין זה אומר שמדובר בגורם משמעותי בעת בחירה, מכיוון שתמיד תוכלו לשנות את כיוון התנועה שלכם, אולם עדיף לדעת על כך מראש.
מחירו של מפוח השלג הידני של Forte QI JY 50 מתחיל ב 907 רובל ועשוי לעלות, תלוי בחנות המציעה מוצר זה. אך גם במקרה זה, כמעט כולם יכולים להרשות לעצמם לקנות מפוח שלג של פורטה QI JY 50, ויהיה ככל שיהיה, זו אלטרנטיבה מצוינת לחפירה.
מפלסת שלג בנזין ידנית יונדאי S 5555
כאנטיפון, אתה יכול לשקול אפשרות אחרת פופולרית, אך יקרה בהרבה - מכשיר של יונדאי. יצרניותיה סיפקו מערכת ניקיון דו-שלבית, וכן מנוע בנזין חזק למדי בנפח 2.6 ליטר. כל האלמנטים עשויים מתכת, מה שמסביר את משקל המבנה המשמעותי - 72 ק"ג.
בין התוספות הנעימות, יש התאמה של טווח השלכת השלג - בין 1 ל -10 מ 'בין הקשיים שמשתמשים מציינים במהלך ההפעלה הם ממדים גדולים למדי הדורשים שטח אחסון פנוי, כמו גם הרכבה לא פשוטה, אם החלטתם לעשות זאת עַצמְךָ.
מאפייני אחסון ותפעול של מפוח שלג ידני
כמו כל ציוד אחר, מפוחי שלג, ללא קשר לאופי מוצאם (תוצרת בית או נרכש), דורשים טיפול זהיר ושמירה על כללי ההפעלה. אחרי הכל, רק בתנאי זה אתה יכול לצפות שהמכשיר ישרת אותך מספיק זמן וללא תקלות. בואו ניקח בחשבון אילו תנאים המכשיר צריך לספק בתקופות שונות בשנה.
טיפול במפוח שלג במהלך שימוש פעיל
לפני שמתחילים בפינוי השלג הראשון העונה, דאגו לבצע בדיקה שגרתית של הציוד. בדקו את אמינות כל המחברים, את מצב החגורות, וודאו שאין פגמים או נזק. במידת הצורך, בדוק את נוכחות השמן במנוע ואת מצב המצתים. היזהר במיוחד בכדי לוודא שאין חפצים זרים בחלקים הנעים של המכשיר.
לאחר שווידאתם שמפוח השלג פועל כהלכה, תוכלו להפעיל אותו. עם זאת, יש כאן גם כמה דקויות. אל תמהרו ותגיעו מיד לעבודה. תנו למנוע לפעול כמה דקות.לפיכך, השמן יוכל להתחמם, מה שיבטיח פעולה חלקה ובטוחה יותר של כל האלמנטים.
לאחר סיום הניקוי, אל תמהרו לכבות את המנוע מיד. השאר את המכשיר פועל מספר דקות, כך שכל שלג שעשוי להישאר בתוך המכשיר יימס גם הוא.
עצה מועילה! הטעות הנפוצה ביותר שנעשתה על ידי בעלי ציוד לפינוי שלג היא ניקוי המכשיר במקום חם מיד לאחר סיום העבודה. גישה זו בהחלט תעורר מראה של קורוזיה של אלמנטים ממתכת.
טיפול במפוח השלג במהלך האחסון
תנאי האחסון הם הגורם השני בחשיבותו בקביעת תוחלת החיים של מפוח שלג. וכדי שעם תחילת החורף הבא לא תצטרך להתמודד עם הפתעה לא נעימה, בצורה של קלקול מפלגת שלג, עליך לעקוב אחר מספר הכללים הבאים:
- על מנת להימנע מתהליכים מאכלים, יש לנקות היטב את מפוח השלג לפני האחסון;
- לבצע בדיקה שגרתית של כל המחברים, החלקים הנעים. שימו לב במיוחד למידת שחיקת החגורה. אם הם זקוקים להחלפה, עדיף לעשות זאת מיד, ולא לדחות לרגע בו אתה זקוק למפוח שלג עובד;
- לשימור טוב יותר של חלקי מתכת ומניעת חלודה, מומלץ לשמן עם שמן משמר מיוחד. ואכן, גם אם תאחסנו את מפוח השלג בתוך הבית, לחות האוויר יכולה להיות בעלת השפעה מסוימת גם כשמדובר בפרק זמן ארוך;
- וכמובן, אל תשכחו לנקז בנזין כשמדובר בדגם עם מיכל בנזין.
להלן מספר עצות פשוטות שיעזרו לך לאחסן את מפוח השלג כהלכה:
- החדר בו מאוחסן מפוח השלג חייב להיות מאוורר באיכות גבוהה, או מאוורר באופן קבוע.
- השתמש תמיד בתיק אחסון מיוחד כדי למנוע אבק ולכלוך מהשקיעה על המכשיר.
- הרחיקו את מפוח השלג ממקורות האש והחום. באופן כללי, נסו לשמור על יציבותו ככל האפשר.
- אחסון לטווח ארוך של מפוח השלג בשטח פתוח מוביל להפחתה רצינית בתקופת הפעלתו.
לא משנה איזה סוג של מפוח שלג תחליטו לקנות: מכני, חשמלי או סתם להשתמש בדגם ידני תוצרת בית, יש לשים לב לנושא זה. אחרי הכל, אם אתה ניגש בצורה אחראית לבחירה, כמו גם יצירת תנאי אחסון, אז השלג שנפל לאחרונה יביא לך רק שמחה.