Artikel ini membincangkan aksesori yang paling mudah dan praktikal untuk garaj dengan tangan anda sendiri, yang dapat meningkatkan keselesaan menggunakan bilik ini. Berikut adalah cadangan terperinci untuk pengembangan dan penciptaan struktur yang dirancang untuk penyimpanan alat dan bahagian kereta yang selesa, petua membuat perabot, serta mengatur sistem pencahayaan dan pemanasan.
Kandungan
Aksesori garaj DIY yang berguna: cadangan umum
Garaj ini bukan hanya bertujuan untuk penyimpanan, tetapi juga untuk penyelenggaraan kereta. Atas sebab ini, bilik ini mestilah luas, bersih, selesa dan lengkap.
Untuk mencapai semua ini, sudah cukup untuk mengambil kira keperluan asas untuk organisasi ruang:
- Kehadiran rak untuk tayar dan penyimpanan alat menjimatkan ruang bebas dengan ketara dan membolehkan anda mengoptimumkan ruang.
- Kualiti pencahayaan sangat penting, kerana bukan hanya produktiviti yang bergantung padanya, tetapi juga kualiti pembaikan kecil.
- Pembinaan meja kerja garaj, alat mesin, lubang tinjau dan lekapan lain memperluaskan pelbagai kemungkinan bagi pemilik kereta berkaitan dengan pembaikan dan penyelenggaraan kenderaan.
Nasihat berguna! Semua elemen ini tidak boleh menempati lebih dari 10-20% kawasan garaj.

Organisasi sistem penyimpanan yang optimum di garaj: 1 - pendakap terbuka dan cangkuk untuk alat yang sering digunakan, 2 - rak untuk alat kecil, 3 - rak untuk alat ganti dan tayar, 4 - rak untuk alat besar, 5 - kabinet untuk pelbagai perkara, 6 - meja kerja dengan rak tambahan
Pilihan rak garaj DIY: foto dan petua untuk mengatur ruang simpanan
Kira-kira 80% rak di garaj dibina sendiri untuk menyimpan aksesori garaj, iaitu:
- alat dan aksesori;
- bahagian komponen untuk kereta;
- aksesori.
Selalunya, dalam gambar rak di garaj dengan tangan anda sendiri, anda dapati gabungannya dengan rak, yang juga boleh dibuat secara bebas. Selalunya, rak dianggap sebagai tempat utama menyimpan alat. Setelah memasangnya, ruang yang tinggal diisi dengan rak yang selesa dan luas.
Pastikan anda menyediakan tempat menyimpan pakaian kerja anda. Tidak perlu menempati kawasan yang luas, anda boleh mendapatkan dengan satu rak atau bahkan mengait (bergantung pada keperluan anda).
Garaj adalah tempat penyimpanan bahan berbahaya dan mudah terbakar. Ini termasuk minyak, petrol, pelarut, cat, penggilap. Bagi mereka, perlu menyediakan kabinet yang terpisah, menggantung alat pemadam api dan memasang tangki dengan pasir.
Untuk melindungi daripada pencemaran semasa penyimpanan roda yang dipasang pada pendakap tayar, ada baiknya membeli beg besar atau penutup khas untuk mengelakkan masuknya habuk.
Kurungan dan rak untuk roda di garaj: ciri reka bentuk
Alat ganti kenderaan yang paling besar adalah set getah, yang boleh menjadi musim sejuk atau musim panas. Apabila versi musim sejuk digunakan, tayar musim panas biasanya disimpan di garaj dan sebaliknya. Oleh itu, anda harus menyusun rak untuk menyimpan tayar atau pendakap.
Reka bentuk pendakap adalah seperti berikut:
- Dua bingkai segitiga dibuat berdasarkan sudut. Pelompat yang diperbuat daripada logam tahan lama dipasang di antara bingkai ini.
- Bahagian segitiga struktur terpaku pada dinding di lokasi yang dipilih sebelumnya. Roda mesti dipasang tegak lurus dengan struktur sokongan. Dalam kes ini, tayar harus jatuh sedikit di antara jumper, sehingga terpaku di rak kerana beratnya sendiri.
Nasihat berguna! Dianjurkan untuk meletakkan rak roda di garaj dengan tangan anda sendiri sedekat mungkin dengan siling pada ketinggian yang optimum. Ini mengelakkan tayar kereta mengambil ruang berguna di garaj.
Untuk penyimpanan roda yang padat, rak keseluruhan dalam bentuk empat rak lebar boleh digunakan. Ia sesuai untuk meletakkan roda dengan cakera yang boleh diletakkan satu di atas yang lain dalam kedudukan mendatar. Strukturnya boleh dibuat di sudut dan dinaikkan di dinding.
Untuk membuat reka bentuk yang serupa, disarankan untuk menggunakan:
- rasuk kayu;
- papan;
- kepingan papan serpai.
Memasang pendakap tayar adalah kaedah paling berkesan untuk menyimpan roda anda. Lebih banyak penjimatan ruang dapat dicapai dengan menggantung getah dari dasar siling di sepanjang dinding garaj. Pilihan ini boleh dilakukan sekiranya ruangan itu mempunyai papak konkrit bertetulang tinggi di siling. Mereka akan digunakan sebagai asas untuk mengacaukan dowel.
Penyimpanan alat: idea menarik untuk garaj dengan tangan anda sendiri
Untuk mengatur kawasan yang selesa untuk menyimpan barang, anda boleh membuat rak atau rak buatan sendiri dan sangat luas. Sudah tentu, di kedai anda boleh menemui beratus-ratus model siap pakai, namun, membuat rak di garaj dengan tangan anda sendiri jauh lebih murah daripada membeli produk serupa di pasaran.
Masalahnya sama untuk rak. Mengambil pembuatan ruang penyimpanan secara bebas untuk alat, anda bukan sahaja dapat mengatur rak praktikal dan praktikal, tetapi juga memasangnya dengan harmoni ke ruang garaj.
Nasihat berguna! Penunjuk minimum beban yang mesti ditanggung oleh struktur ialah 150 kg atau lebih. Dalam kes ini, had maksimum beban per bahagian adalah 500 kg.
Peraturan untuk pembuatan produk kayu:
- Lebih baik menggunakan kayu keras seperti beech, oak, hornbeam.
- Sebelum pemasangan, kayu mesti dirawat dengan agen antiseptik.
- Bahagian bingkai mesti diampelas dengan teliti untuk memastikan operasi rak selamat.
- Untuk pembuatan rak, disyorkan untuk menggunakan kepingan papan serpai atau papan lapis, OSB. Plat DVL dengan ketebalan sekurang-kurangnya 4 mm juga sesuai.
Ketebalan bahan ditentukan oleh beban yang seterusnya akan bertindak di rak.
Cadangan untuk membuat rak alat buat sendiri di garaj
Rak dipasang dalam keadaan di mana garaj tidak membenarkan meletakkan rak. Lebih baik jika terdapat beberapa struktur.
Skema untuk membuat rak untuk alat:
- Rancang penempatan rak, ukuran dan markup.
- Sediakan bahan dalam bentuk papan dan pengikat.
- Dengan menggunakan penebuk, buat lubang di dinding, pasang dowel dengan cangkuk di dalamnya, yang akan memberikan lekapan yang lebih baik.
- Kencangkan penyangkut yang dilengkapi dengan kancing di papan. Untuk penyangkut logam, disyorkan untuk menggunakan skru penoreh sendiri atau kuku biasa.
- Betulkan produk siap menggunakan tingkat bangunan, jika tidak, alat itu mungkin jatuh dari rak, yang menjadikan operasi tidak selamat.
Nasihat berguna! Semasa membuat rak, lebih baik memberi keutamaan kepada beberapa struktur pendek, kerana satu produk panjang boleh pecah di bawah berat alat.
Pada peringkat akhir, anda boleh membuat penamat hiasan produk (cat atau filem khas).
Teknologi rak alat garaj
Untuk membuat rak dengan tangan anda sendiri, anda memerlukan papan selebar 9 dan 19 cm. Ukuran struktur dapat disesuaikan.
Teknologi langkah demi langkah:
- Elemen selebar 9 cm dipotong menjadi beberapa keping sepanjang 18 cm, 27.5 cm dan panjang 30 cm. Bahagian yang dihasilkan akan menjadi spacer.
- Papan, selebar 19 cm, hendaklah dipotong menjadi kepingan sepanjang 36 cm. Rak akan dibuat dari bahagian ini.
- Di papan, yang akan menjadi asas produk, perlu meletakkan tanda di tempat-tempat di mana spacer akan berada. Sebaiknya lekukan setiap sisi sebanyak 2.5 cm.
- Spacer atas dilekatkan, kemudian rak atas, yang sudah memiliki spacer, dipaku padanya. Selebihnya bahagian dipasang dengan cara yang sama. Pendakap bawah dipasang di hujungnya.
- Balikkan struktur dan ketatkan spacer dengan skru bersama dengan pangkal produk.
- Permukaan dibersihkan dengan teliti dengan kertas pasir. Selepas itu, produk perlu ditutup dengan dua lapisan pernis berminyak atau jenis kemasan yang lain.
- Struktur dipasang ke dinding dengan skru jangkar. Pembetulan harus dilakukan di bawah rak atas dan bawah.
Nasihat berguna! Untuk mengukuhkan produk, anda harus memasang bongkah kayu di antara bahagian. Mereka akan membolehkan anda mengagihkan beban secara merata di rak.
Organisasi sistem pencahayaan dan pemanasan di garaj
Untuk menjadikan operasi garaj selesa, sistem pencahayaan, pengudaraan dan pemanasan harus disusun dengan betul di dalam bilik. Oleh kerana kereta berkait rapat dengan penggunaan bahan toksik dan berbahaya, masalah pengudaraan di ruang terkurung sangat teruk. Untuk garaj, lubang udara sesuai untuk kerja bata. Ia dilengkapi dengan kisi-kisi.
Faktor-faktor yang mempengaruhi tahap pencahayaan:
- kawasan garaj, ketinggiannya;
- bilangan dan sifat penempatan kawasan kerja (dimensi meja kerja untuk garaj, lubang pemeriksaan, bilangan mesin);
- jenis hiasan di dinding, warnanya;
- penunjuk kekuatan spesifik rangkaian per 1 m²;
- jenis lampu untuk garaj.
Pelbagai jenis pemanasan dapat digunakan untuk menjaga suhu optimum:
- gas;
- berdasarkan minyak terpakai;
- udara;
- elektrik (pemanas inframerah untuk garaj);
- ketuhar;
- air;
- bahan api pepejal.
Terdapat banyak kaedah alternatif untuk mengatur sistem pemanasan anda sendiri.
Ciri lampu garaj halogen, pendarfluor dan LED
Ciri-ciri teknikal lampu halogen dalam banyak cara serupa dengan lampu pijar, tetapi mentolnya dipenuhi dengan wap bromin, sehingga produk memancarkan lebih banyak cahaya. Kelebihan lampu tersebut merangkumi jangka hayat yang panjang - 4 ribu jam.
Nasihat berguna! Produk mesti diletakkan dalam warna. Perlu juga memikirkan penstabilan yang bertujuan melindungi daripada lonjakan kuasa. Tidak disyorkan untuk menyentuh lampu sedemikian dengan tangan anda (jangka hayatnya berkurang).
Lampu pendarfluor di dalamnya dipenuhi dengan gas lengai. Dari dalam, termos ditutup dengan sebatian khusus yang memancarkan cahaya ultraviolet di bawah pengaruh pelepasan jenis busur. Model yang disyorkan termasuk produk berkadar IP-65 yang dilindungi dari kelembapan dan habuk.
Memasang lampu LED di garaj dilengkapi dengan kos tertinggi. Walaupun begitu, mereka membayar dalam 50 ribu waktu bekerja. Dari segi kecekapan, LED 50% lebih menguntungkan daripada lampu pendarfluor. Pada masa yang sama, mereka tidak mengandungi komponen berbahaya, dan cahaya tidak memberi kesan agresif pada mata, jadi tidak perlu membeli plafond.
Memasang lampu di garaj: cara membuat pengiraan
Untuk mengira kekuatan lampu konvensional, anda boleh menggunakan formula:
P = S x W / N.
Penyahkodan nilai:
- P adalah jumlah daya yang diperlukan, W / m².
- W adalah kekuatan satu lampu, W.
- N - bilangan lampu (luminer), pcs.
- S adalah luas bilik, m².
Untuk lampu halogen dan LED, penunjuk optimum ialah 16-20 W / m². Nilai ini sesuai untuk bilik di mana ketinggian siling tidak lebih dari 2.5 m. Di garaj dengan siling 3 meter, angka ini harus dikalikan dengan 1.5.
Pengiraannya dipengaruhi oleh hiasan dalaman dinding bilik. Di garaj gelap, pencahayaan harus lebih terang.
Tahap pantulan cahaya:
Luas bilik, m2 | Ketinggian siling, m | Warna hiasan dinding | |
Gelap | Berwarna terang | ||
20 | kurang daripada 3 | 0,6 | 0,75 |
50 | 0,75 | 0,9 | |
100 | 0,85 | 1 | |
20 | 3-5 | 0,4 | 0,55 |
50 | 0,6 | 0,75 | |
100 | 0,75 | 0,9 | |
50 | 5-7 | 0,4 | 0,55 |
100 | 0,6 | 0,75 |
Dianjurkan untuk menggunakan lampu berkekuatan rendah dengan lampu halogen atau LED untuk menerangi lubang pemeriksaan di garaj, kerana kelembapan yang terkumpul di tempat ini dapat menimbulkan kejutan elektrik. Peranti dipasang di sisi dalam relung yang telah dibuat sebelumnya.
Nasihat berguna! Untuk mengelakkan alat yang jatuh secara tidak sengaja melanggar lampu, reka bentuk lampu dapat dibuat penarik. Apabila lubang tidak digunakan, perkakas tersembunyi di dalam lubang.
Sistem pencahayaan autonomi sendiri di garaj
Terdapat sejumlah prinsip berdasarkan sistem penerangan autonomi:
- Jalur LED dipasang di dalam warna (terdapat 300 dioda setiap elemen).
- Keluaran suis dilakukan dengan ketat pada perisai.
- Sistem siling yang digantung digunakan untuk pendawaian.
- Wayar dikuasakan oleh bateri yang disambungkan ke sumber melalui pengecas.
Sistem pencahayaan pelbagai tingkat untuk garaj dianggap paling optimum.Ia melibatkan pemasangan lampu besar di tengah-tengah bilik dan pemasangan lampu kecil di kawasan kerja.
Pengiraan ketinggian untuk sistem bertingkat:
Tahap | Ketinggian, m |
1 | asas siling |
2 | 1,8 |
3 | 0,75 |
4 | 0,4 |
Luminer dipasang dengan betul jika mesin tidak membuang bayangan di kedua-dua belah pihak.
Cara memilih pemanas untuk garaj
Pemanasan garaj dilakukan dengan menggunakan alat mudah alih kecil yang dapat memanaskan bilik dalam masa yang singkat dan seterusnya mengekalkan suhu optimum.
Memikirkan pemanas mana yang terbaik untuk garaj, banyak orang keliru percaya bahawa perkakas buatan sendiri boleh dibuat secara eksklusif dari komponen mahal dan memerlukan pelaburan masa yang besar. Atas sebab ini, pemilik garaj melepaskan usaha ini.
Sebenarnya, untuk membuat pemanas garaj dengan tangan anda sendiri, sudah cukup untuk membatasi diri anda dengan bahan anggaran, contohnya filem termal. Skema untuk membuat peranti sedemikian sangat mudah dan melibatkan penggunaan bahan dan alat berikut:
- kit untuk memasang pemanas;
- wayar yang dilengkapi dengan palam;
- plastik berlamina kertas (luas satu elemen 1 m²);
- serbuk grafit;
- pelekat epoksi.
Nasihat berguna! Pastikan anda mempunyai multimeter. Semasa memasang peranti, alat ini tidak berguna, tetapi diperlukan untuk memeriksa kebolehoperasiannya.

Termal gas, diesel atau pistol elektrik - pilihan pemanasan biasa di garaj
Cadangan untuk memasang pemanas garaj buatan sendiri
Arahan langkah demi langkah mengenai cara membuat pemanas garaj:
- Campuran gam dan serbuk grafit dibuat. Semakin banyak serbuk dalam komposisi, semakin kuat pemanasan peranti. Suhu purata antara 60-65 ° C.
- Lembaran plastik dilapisi di bahagian kasar dengan campuran gam dan grafit, yang digunakan pada pukulan zigzag, setelah itu diikat dengan sisi depan dan dipasang dengan bingkai yang dibuat berdasarkan bilah kayu.
- Terminal dipasang pada konduktor grafit dan strukturnya dikeringkan. Pengeringan mesti lengkap, jika tidak, kelembapan akan merosakkan peranti.
Setelah pemanas kering, ujian rintangan harus dilakukan. Pemanas garaj hanya dianggap selamat selepas pemeriksaan ini. Sehingga saat ini, dilarang sama sekali menyambungkan peranti ke rangkaian elektrik.
Sekatan keselamatan:
- Tidak digalakkan membiarkan peranti yang dihidupkan tanpa pengawasan atau membiarkannya dekat dengan kanak-kanak.
- Dilarang menggunakan peralatan yang mampu mencetuskan kebakaran.
- Jangan letakkan bahan dan bahan mudah terbakar di dekat peranti.
Lekapan garaj berguna DIY
Untuk menjalankan kerja-kerja pembaikan dan servis, anda perlu membina lubang pemeriksaan di garaj dengan tangan anda sendiri, dimensi yang sesuai dengan dimensi kereta, serta meja kerja untuk kerja yang mudah, serta melengkapkan bilik dengan mesin.
Satu set asas alat dan bahan untuk membuat meja kerja garaj buatan sendiri termasuk:
- papan dan bongkah kayu;
- pengikat dan ikatan;
- penanam dan alat lain untuk kerja kayu;
- pelekat varnis dan alat ganti;
- kertas pasir dan minyak pengeringan.

Contoh meletakkan peranti berguna di garaj: 1 - meja Kraf dengan mesin manual, 2 - rak dan kabinet, 3 - meja untuk pelbagai kerja pembaikan, 4 - rak untuk menyimpan tayar, 5 - lubang pemeriksaan
Teknologi pembuatan meja kerja DIY di garaj: gambar, gambar
Meja kerja terdiri daripada bahagian atas meja dan kerangka bawah, serta beberapa peranti penjepit. Ketinggian meja kerja di garaj harus disesuaikan agar sesuai dengan ketinggian anda sendiri.Anda boleh mengambil petunjuk ketinggian meja dapur di rumah, di mana ia senang bekerja. Pastikan menulis untuk membuat Meja kerja garaj DIY rangka tindakan.
Nasihat berguna! Lukisan siap pakai meja kerja garaj, yang terdapat di Internet, sesuai dijadikan asas untuk membuat struktur sendiri. Sekiranya dikehendaki, ia boleh disesuaikan untuk memenuhi keperluan anda.
Susunan garaj: cara membuat meja kerja di dalam rumah:
Peringkat kerja | Perincian, ukuran dalam cm | Jenis pelekap |
Menyusun meja | 20 papan (5x10x200) dengan alur 2.5x2.5 pada elemen ke-5 dan ke-16 (langkah 25) | Komposisi pelekat screed logam |
Pengeringan | — | — |
Membuat kaki (4 pcs.) | Bar (10x10x80) dengan slot untuk pendakap pada penyokong depan | Kurungan |
Memasang pangkal kerangka bawah | Bingkai (2 pcs.) Diperbuat daripada papan (5x10) | Lonjakan dan selak 2.5 cm |
Memperbaiki dinding sokongan sisi dan belakang | Papan cip (ketebalan 10 mm) | Skru kayu |
Memperbaiki meja ke bingkai atas | — | Selak |
Pemprosesan akhir melibatkan impregnasi produk jadi dengan minyak biji rami dan dibuka dengan varnis.
Cadangan untuk membuat lubang melihat di garaj dengan tangan anda sendiri
Tidak ada ukuran khusus untuk lubang pemeriksaan garaj. Dimensi kereta diambil sebagai asas.
Cara membuat lubang pemeriksaan di garaj dengan parameter optimum:
- Lebar dipilih sehingga ada cukup ruang di dalam untuk bekerja. Ukurannya dibatasi oleh jarak di mana roda kereta ditanam. Setiap roda memerlukan kawasan kecil untuk bergerak. Lebar lubang purata ialah 0.8 m.
- Panjang lubang dibatasi oleh panjang mesin. Untuk penunjuk ini, 1 m harus ditambahkan.
- Ketinggian pemilik garaj digunakan untuk mengira kedalaman. 10-15 cm lagi ditambahkan ke dalamnya.
Cara membuat lubang tontonan di garaj dengan betul menggunakan bahan yang berbeza:
Bahan | Ketebalan dinding, cm |
Bata seramik | 12-25 |
Konkrit | 15 |
Blok bangunan | 20 |
Lubang ditarik keluar dengan mempertimbangkan lebar lubang yang optimum, bahan yang dipilih untuk dinding, serta ketebalan lapisan kalis air. Tahap membuat lubang:
- markup;
- pembinaan lubang;
- susunan lubang;
- pembinaan dinding;
- jalur pencahayaan.
Untuk dinding kalis air, impregnasi hidrofobik khas digunakan.
Nasihat berguna! Formwork dapat digunakan untuk membuat relung bertetulang di dinding lubang untuk menampung alat dan lampu.

Skema susunan lubang pemeriksaan: 1 - dinding yang terbuat dari blok busa, 2 - kalis air, 3 - batu runtuhan. 4 - sudut 50x50x4 mm
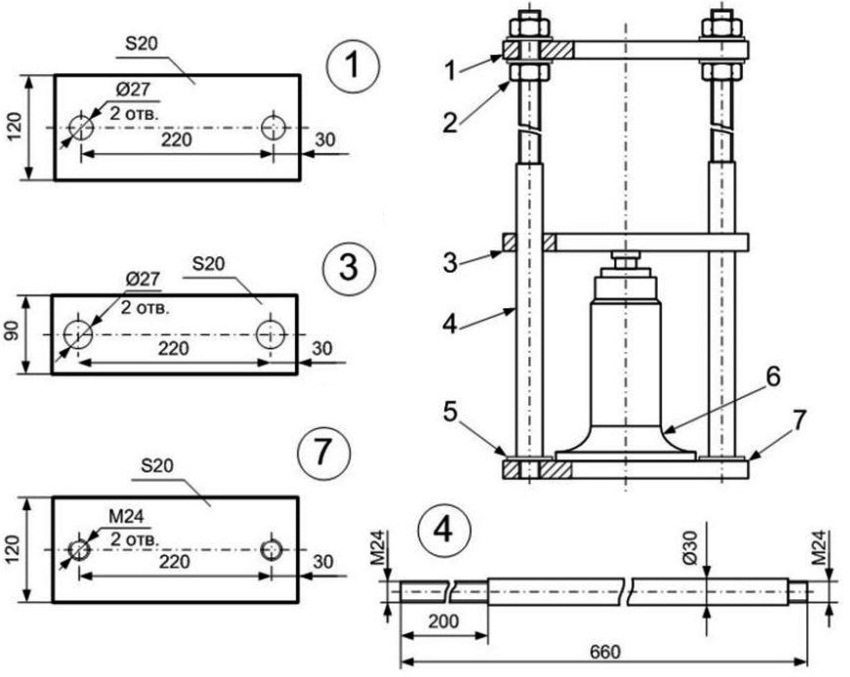
Membuat penekan untuk garaj dengan tangan anda sendiri
Untuk membuat penekan, bingkai berukuran 178x80 cm hendaklah dibuat dari 4 keping paip logam. Unsur-unsur ini disambungkan dengan kimpalan. Dalam karya, disarankan untuk dipandu oleh gambar, dipilih terlebih dahulu atau digambar. Selepas itu anda perlu memasang:
- penahan;
- penekanan yang boleh ditanggalkan;
- bicu botol (hidraulik).
Anda boleh menggunakan bahan video untuk mempertimbangkan teknologi terperinci untuk membuat aksesori berguna untuk garaj dengan tangan anda sendiri. Cadangan visual seperti itu membantu anda menavigasi ukuran, menguasai petunjuk langkah demi langkah dan membayangkan jenis penampilan struktur siap yang seharusnya.

Skim pembuatan tekan hidraulik: 1 - platform kuasa atas, 2 - mur, 3 - platform bawah, 4 - kancing dengan diameter 30 mm, 5 - benang bawah kancing, 6 - bicu hidraulik jenis botol; 7 - dasar 20 mm tebal
Susunan garaj anda boleh melakukannya sendiri. Senarai alat berguna tidak berakhir di sana. Ia selalu dapat ditambah dengan idea menarik. Perkara utama adalah bahawa garaj memenuhi sepenuhnya keperluan peribadi dari segi keselesaan dan kemudahan.