La prensa hidráulica se utiliza mucho en la vida diaria. Es necesario para trabajos que requieren mucha presión sobre el material que se procesa. Una herramienta multifuncional de alta calidad tiene un alto costo, que es completamente injustificado para uso doméstico. Puede hacer una prensa hidráulica con sus propias manos sobre la base de un gato para automóvil.

La prensa hidráulica se utiliza para trabajos en los que es necesario ejercer mucha presión sobre el material procesado
Contenido
- 1 Objeto y alcance de la prensa hidráulica
- 2 Variantes de usar una hidroprensa en casa.
- 3 Diseño de una prensa casera a partir de un gato.
- 4 Dispositivo de prensa de garaje casero: característica de diseño
- 5 Características de la prensa hidráulica de bricolaje.
- 6 Diseñar una prensa hidráulica casera para un garaje con sus propias manos.
- 7 La secuencia de hacer que usted mismo presione con un gato
- 7.1 Características de montar una cama de prensa de garaje con sus propias manos.
- 7.2 Cómo convertir un gato de prensa para que funcione al revés
- 7.3 Cómo hacer una prensa: hacer e instalar almohadillas de presión
- 7.4 Instalación de una viga de soporte móvil del mecanismo de retorno para una prensa hidráulica casera
- 8 Características de crear una prensa de aceite hidráulico con sus propias manos.
- 9 Cómo usar un gato hidráulico: características de diseño
- 10 Características de una prensa electrohidráulica de bricolaje
- 11 Reparación de prensa hidráulica de bricolaje desde un gato
- 12 Cómo hacer una prensa hidráulica con sus propias manos: instrucciones en video
Objeto y alcance de la prensa hidráulica
Una prensa hidráulica es un dispositivo que ejerce una gran presión sobre el material a procesar con poco esfuerzo. Este principio de funcionamiento se basa en la ley de Pascal, según la cual la fuerza aplicada que actúa sobre un área determinada se transmite por todo el volumen y es igual en todas las direcciones.
El dispositivo de prensa hidráulica está representado por dos cilindros. Cuando se expone a una cámara más pequeña, la presión del líquido en ella aumenta, que se transmite a través de un canal especial a la cámara grande. El fluido de trabajo ejerce presión sobre el pistón, lo que contribuye al efecto del elemento sobre la pieza de trabajo que se está procesando. Los cilindros suelen estar dispuestos verticalmente, pero también hay opciones para la colocación horizontal. Se utiliza un aceite especial como fluido de trabajo.
La instalación se utiliza para prensado, estampado, extrusión, ensamblaje, forjado, doblado, enderezamiento de elementos metálicos. Puede comprar o hacerlo usted mismo una prensa de cartón, que se volverá indispensable para el envasado, briquetado, prensado y reciclaje de materiales de plásticos, papel y caucho. El equipo se caracteriza por su versatilidad y puede ser utilizado en diversos ámbitos de la vida para reparación, mantenimiento y mantenimiento preventivo. Dependiendo de esto, la prensa tiene un diseño determinado.
Variantes de usar una hidroprensa en casa.
Para exprimir elementos metálicos de la carcasa o la base, puede comprar o hacer una prensa hidráulica con sus propias manos en el garaje. El equipo también es adecuado para la extrusión de cojinetes y bloques silenciosos, que no son aptos para el montaje y desmontaje manual. Con la ayuda de dicho dispositivo, puede enderezar, acoplar dos elementos, doblar una pieza de metal.
¡Consejo útil! Al hacer una prensa con sus propias manos, debe decidir el propósito adicional del dispositivo, sus dimensiones, indicadores de pistón, peso y la posibilidad de instalar un manómetro.

Al hacer una prensa hidráulica para un garaje, es necesario tener en cuenta las dimensiones del vehículo reparado.
Al construir una prensa hidráulica para un garaje, considere el tamaño de su vehículo. Para vehículos livianos, basta con hacer una estructura simple, y para autos grandes es mejor hacer una unidad más compleja y dimensional.
El dispositivo se utiliza a menudo como prensa de papel usado. Con sus propias manos, puede hacer un buen combustible para la estufa con papel viejo. Para tales fines, basta con realizar una estructura simple con una potencia promedio, que permitirá la eliminación de una gran cantidad de papel usado.
El equipo también es adecuado para prensar aserrín. Tales briquetas son un buen combustible para calentar la estufa, se queman durante mucho tiempo sin la formación de humo, creando un calor fuerte. En lugar de aserrín, las astillas de carbón también son adecuadas como relleno para la prensa. Dicha unidad constará de un escritorio, una base, un marco de alimentación y una unidad.
Un buen resultado está garantizado por una prensa de fabricación propia para botellas de PET, que convierte el recipiente en capas ordenadas. La herramienta hidráulica se puede utilizar como recogedor de heno. En este caso, el diseño se complementa con un marco de marco de madera o metal sin una parte superior. El elemento se fija a la frente mediante sujetadores especiales. También necesitará una camioneta de transporte y un tren de aterrizaje.
Diseño de una prensa casera a partir de un gato.
Antes de hacer una prensa hidráulica con sus propias manos, debe averiguar qué elementos constituyentes se incluyen en su diseño.
Para la estabilidad del dispositivo, se requiere una base sólida y confiable, que actúa como base de la instalación. Parece una plataforma y está hecha de metal laminado grueso y macizo. Para ello, se utilizan principalmente canales y esquinas metálicas.
Como puede verse en el diagrama de la prensa, las partes verticales de la estructura están representadas por estanterías. Los elementos están hechos de esquinas de acero y soldados a la base de tal manera que se asegura un ángulo recto entre los elementos. La altura de las estanterías se calcula como la suma de la altura del gato, la longitud de su varilla y el grosor de la pieza de trabajo. Un tope fijo se fija en la parte superior de las rejillas. Se utiliza una esquina para su fabricación.
Se utiliza un gato hidráulico para crear la fuerza necesaria en la superficie de trabajo. Deberá fijarse a un tope móvil. El gato se opera con una palanca manual o con accionamiento eléctrico.

La altura de los postes laterales debe corresponder a la suma del grosor de la pieza de trabajo, la altura del propio gato y la longitud de su varilla.
El tope móvil ejerce presión sobre el mecanismo de presión. El elemento está hecho de tiras o esquinas de acero. Se utiliza un dispositivo de retorno para mover el tope a su posición normal. Está representado por varios manantiales. Su longitud y grado de estiramiento se calculan en función de los parámetros de la prensa.
Dispositivo de prensa de garaje casero: característica de diseño
Antes de realizar una prensa hidráulica, debe decidir el tipo de instalación. Dependiendo de esto, el equipo puede ser de mesa o de suelo. El primer tipo de herramienta se ubica en un banco de trabajo y el segundo se coloca en un pedestal especial. Estas prensas difieren en tamaño y capacidad de carga. Una prensa hidráulica de banco de bricolaje proporciona una fuerza de hasta 12 toneladas, y para un dispositivo de piso este valor alcanza las 25 toneladas.
El diseño de la mesa es más estable y móvil. Debido a su pequeño tamaño, no ocupa mucho espacio libre. Esta prensa se utiliza para procesar piezas pequeñas.
La prensa hidráulica de suelo se caracteriza por su gran tamaño y gran peso. Para instalarlo, necesitará la construcción de una plataforma especial. Tal máquina se encargará del procesamiento de grandes elementos metálicos, el desmontaje y el montaje de unidades complejas.
¡Importante! Para ampliar la funcionalidad de la prensa hidráulica de piso, debe estar equipada con un motor eléctrico.
Puede crear una estructura compleja que se utilizará para una amplia gama de tareas. Sin embargo, la fabricación de dicha opción llevará mucho tiempo y requerirá el uso de herramientas y equipos especializados. Como prensa hidráulica de garaje, es mejor hacer un modelo manual equipado con una bomba hidráulica y accionamiento. Este diseño es de dos velocidades, su pistón se caracteriza por la movilidad.
Una prensa hidráulica de bricolaje para un garaje puede ser horizontal o vertical. El primer tipo de dispositivo se utiliza para enderezar, cortar y doblar elementos metálicos individuales. El equipo vertical está diseñado para prensar y prensar piezas. La prensa de papel de desecho hidráulica de bricolaje está ganando popularidad.
Características de la prensa hidráulica de bricolaje.
Un diseño hecho a sí mismo debe realizar la lista requerida de tareas. Un dispositivo que crea un esfuerzo de 15-25 toneladas es suficiente. Para hacerlo, deberá preparar un dibujo de trabajo de una prensa hidráulica con sus propias manos desde un gato con las dimensiones de todos los elementos estructurales (dicho diagrama se puede encontrar en Internet). En este caso, se debe tener en cuenta el tipo de herramienta, que puede ser estacionaria o extraíble, las dimensiones del producto, la carrera del pistón y el diseño de la bancada.
El cilindro de trabajo de la prensa hidráulica está ubicado por separado o integrado en la estructura. Además, puede estar arriba o abajo. En el caso de la primera opción, se aplicará presión en la superficie inferior de la base. Si el elemento de trabajo está ubicado en la parte inferior de la cama, la presión se dirigirá hacia arriba como resultado del vástago principal.
Se utiliza un gato como cilindro hidráulico, que actúa como elemento principal de trabajo. Hay que tener en cuenta que la herramienta se puede presentar en diferentes versiones.Por lo tanto, al elegir un conector, es necesario decidir para qué fines se utilizará la prensa y tener en cuenta el esfuerzo máximo del dispositivo.
Sin embargo, recuerde que una herramienta industrial tipo botella no funcionará al revés. Por lo tanto, antes de realizar una prensa desde un gato, es necesario completar el producto. El diseño debe prever la instalación de una toma que hará contacto con la varilla del cilindro hidráulico. Para hacerlo, debes usar un trozo de tubería.
El material para la cama se selecciona con un margen de seguridad, que excluirá daños al marco al aplicar la máxima fuerza posible. Después de completar la tarea de procesar la pieza de trabajo, la varilla debe volver a su posición original. Para hacer esto, es necesario elegir los resortes correctos, según el grado de rigidez, por lo que podrán cumplir eficazmente su propósito. Sus bordes están unidos a las partes superior móvil e inferior fija de la base.

El material para los racks y la cama debe seleccionarse con un margen de seguridad, esto excluirá daños a la prensa cuando se aplica mucha presión
Diseñar una prensa hidráulica casera para un garaje con sus propias manos.
Después de elegir el gato, debe comenzar a diseñar la cama, que será presionada por el cilindro hidráulico. Para esto, se crea un dibujo de prensa hidráulica de bricolaje. Y las dimensiones en él se aplican para cada elemento individual del dispositivo. La estructura debe ser fuerte, porque durante el funcionamiento del dispositivo, el gato ejercerá presión tanto hacia abajo como hacia arriba, tratando de romper el marco.
La base debe garantizar la estabilidad del equipo, la mejor solución es implementarla como plataforma. El ancho de la mesa se determina en función de las dimensiones del producto que se procesará en la prensa. Sin embargo, no debe ser menor que el ancho total de todos los elementos del equipo de prensa.
La altura de la bancada se calcula como la suma de las dimensiones del gato, el valor del libre movimiento de la varilla, la altura de las piezas a mecanizar y el espesor de la plataforma de trabajo móvil.
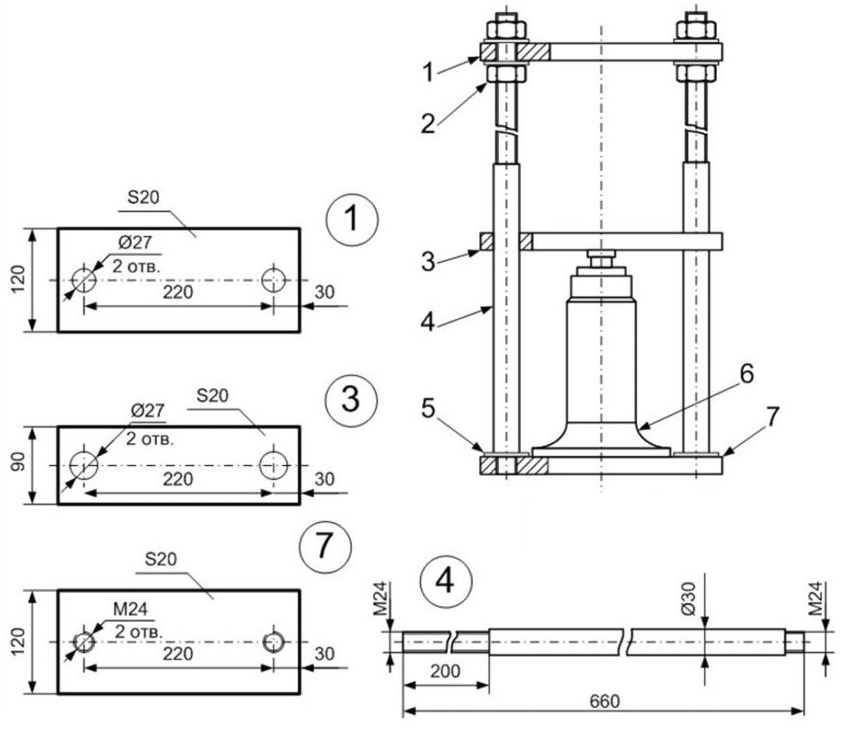
El gato se fija a la base. La parte superior del marco actúa como énfasis para los productos. Con la ayuda de una mesa móvil, la presión se transfiere a la pieza. La superficie se instala en la parte superior del gato en la cama, a lo largo del cual se mueve libremente hacia arriba y hacia abajo con fijación en los lados.

1 - viga de empuje superior, 2 - tuerca, 3 - viga móvil inferior, 4 - postes, 5 - roscas, 6 - gato, 7 - base
Para asegurar el ajuste del movimiento libre de la varilla del gato, se pueden instalar espaciadores reemplazables hechos de perfiles metálicos sólidos o huecos. Otra opción pasa por la implementación de un tope extraíble en forma de mesa de trabajo que se mueve. Debe asegurarse a la cama con tuercas y pernos o varillas. Para hacer esto, es necesario hacer agujeros en el marco con una altura menor que el rango de movimiento de la varilla del gato.
Otra solución es crear una prensa de tornillo con sus propias manos utilizando un volante. Será posible reducir el espacio para la pieza de trabajo dentro del marco apretando el tornillo con la placa.
¡Aviso util! Para regular el movimiento libre del vástago, es mejor utilizar una combinación de varias de las opciones anteriores.
La secuencia de hacer que usted mismo presione con un gato
Antes de hacer una prensa con sus propias manos, debe preparar una máquina de soldar, electrodos, amoladora, taladro y taladros. Para el acabado de elementos estructurales metálicos a partir de rebabas, necesitará una lijadora. En la primera etapa, se ensambla el marco de la prensa. La calidad y eficiencia del proceso de trabajo depende de su solidez y confiabilidad. La cama contendrá el cilindro de trabajo (en forma de gato) y la pieza de trabajo a procesar.

Para fabricar la base de la instalación, diseñada para una presión de hasta 5 toneladas, se requiere un canal de tamaño estándar 8P
El material de la cama, su diseño y variante de montaje se determinan en función de la presión percibida del gato. Según el dibujo de la prensa de bricolaje, la base del dispositivo está representada por un marco rectangular en forma de U hecho de un canal o ángulo de acero soldado. El esfuerzo principal se concentrará en la parte central de las barras horizontales. Consiga la máxima estabilidad posible de la estructura soldandola a la base de una placa metálica con un espesor de 08-1,2 cm.
Artículo relacionado:
Prensas hidráulicas manuales: características de las herramientas de alta eficiencia
El dispositivo y el principio de la herramienta. Tipos de luminarias. Áreas de uso de la prensa hidráulica. Reglas de selección y operación.
Para fabricar el lecho de la instalación, diseñado para una fuerza de hasta 5 toneladas, se necesitará un canal de tamaño estándar 8P y dos esquinas laminadas en caliente de 50x50 mm, que están unidas por una costura soldada sólida o unidas por varillas cada 25 cm. Si la herramienta percibe una fuerza de hasta 10 toneladas, se requiere un canal para el lecho. 10P y esquinas apareadas de 63x7 mm. Para la fabricación de una prensa con la fuerza de compresión requerida de 15 toneladas y más, se debe utilizar un canal 14P y una esquina doble con un tamaño de 75x8 mm.
¡Importante! El marco fabricado con el metal laminado mencionado anteriormente tendrá un margen de seguridad diez veces mayor, lo que contribuirá al funcionamiento normal del dispositivo, sin destruir el marco.
Características del ensamblaje de la prensa de garaje de bricolaje
Todos los elementos para el marco están interconectados según el dibujo de la prensa hidráulica. Primero, se ensambla la base, luego las partes laterales y el marco superior del marco. Es importante controlar el cumplimiento de la geometría de la estructura, en la que todos los elementos deben ser lados de un ángulo recto.
El acoplamiento se lleva a cabo realizando uniones soldadas de una sola pieza de doble cara con productos de corte de extremo a extremo. Una alternativa es usar pasadores o pernos para ensamblar las piezas. Al hacerlo, debe tenerse en cuenta la carga cortante máxima permitida. Con esta conexión, la carga principal se concentrará en las conexiones atornilladas. Por lo tanto, es importante calcular correctamente su número.
A continuación, se hace una barra móvil para una prensa de forja hidráulica de bricolaje. Para ello, se utiliza un tubo o canal cuadrado. En su parte central, se suelda un trozo de tubería, que luego servirá de enchufe para el vástago. Las guías están hechas de dos tiras de acero, cuya longitud debe ser igual al ancho exterior del cuerpo. Los elementos están atornillados a los postes laterales de la estructura móvil.
Se realiza un tope extraíble de la misma forma. Es necesario realizar agujeros en sus partes guía para ajustar la altura del espacio de trabajo. En la etapa final, se instalan el gato y los resortes.
Cómo convertir un gato de prensa para que funcione al revés
La opción más asequible, que se utiliza como cilindro hidráulico para una prensa manual de bricolaje, es un gato de botella. El principal problema con una herramienta de este tipo es la incapacidad de funcionar al revés. En este caso, puede fijar la herramienta de forma permanente a la viga superior. En este caso, la base inferior se utilizará como elemento de referencia. Antes de hacer una prensa con sus propias manos, deberá refinar el mecanismo hidráulico.
Hay varias opciones para alterar el gato que se pueden usar al ensamblar una prensa hidráulica casera.La primera es la instalación adicional de un tanque de expansión de 300 ml. El contenedor debe conectarse al orificio de llenado del gato mediante un tubo de silicona convencional. Para que el elemento se fije firmemente, debe usar los accesorios de la manguera de oxígeno, que se pueden comprar en cualquier tienda de autopartes.
La segunda opción para alterar el gato consiste en desmontar la herramienta. Para hacer esto, drene completamente el aceite y purgue el émbolo. A continuación, se tuerce la tuerca de sujeción superior sujetándola en un tornillo de banco. Luego, debes aflojar el vidrio exterior con un mazo de goma. El elemento debe salir del anillo de asiento, que se encuentra en la base del gato.
Después del brazo del émbolo, hay un orificio de entrada de líquido. Si el vaso no está completamente lleno en su posición invertida, el orificio no entra en contacto con el aceite. Este es un problema importante cuando se usa un gato de prensa casero. Puedes solucionarlo con un tubo, que debes presionar en toda la longitud del vaso.
El gato se puede dejar en su diseño original. Sin embargo, para garantizar la operatividad de la estructura, será necesario instalar una tercera viga adicional. Está unido a las paredes laterales con bastante fuerza, lo que contribuye a la posición estacionaria del gato cuando se crea presión. La herramienta se fija en posición invertida a la parte central de la viga superior mediante pernos M8 o M10.
Cómo hacer una prensa: hacer e instalar almohadillas de presión
Las piezas de trabajo grandes requieren una gran área de vigas de compresión. En este caso, la biela no proporcionará esto, ya que durante el prensado, la fuerza debe distribuirse uniformemente sobre toda el área de la superficie tratada, excluyendo la formación de deformaciones.
Como almohadillas de presión para una prensa hidráulica de fabricación propia para un garaje, puede usar lingotes de cuerpo completo, en los que se hacen agujeros ciegos con roscas, mediante los cuales los elementos se fijan a la estructura de la prensa.
La mejor opción es hacer almohadillas de presión de bricolaje con un gato. Para hacer esto, puede comprar cuatro piezas de una esquina de metal o dos canales. Los elementos se utilizan para crear un paralelepípedo con caras laterales abiertas. Las áreas a tope que perciben la fuerza principal deben soldarse desde el interior con una costura continua. El resto de lugares se sueldan al exterior.
Una de las caras se debe taponar con un inserto cuadrado y la cavidad interior se debe rellenar con mortero de hormigón M500. Una vez que la solución se ha solidificado, el bloque se suelda por el otro lado. Por tanto, hay dos elementos incompresibles.
Un gato con una varilla está unido al bloque superior. Para ello, se realiza un agujero ciego, donde se inserta el talón de la herramienta con una holgura mínima. Aquí también se hacen agujeros para fijar el mecanismo de resorte de retorno. El bloque inferior está unido a la viga ajustable. Para mayor confiabilidad y limitación de corte, se sueldan un par de esquinas de varillas metálicas.
Instalación de una viga de soporte móvil del mecanismo de retorno para una prensa hidráulica casera
Las vigas inferior y superior deben tener la misma sección transversal. Los elementos difieren solo en el diseño. Para realizar el elemento de soporte inferior se utilizan dos canales, que deben girarse con sus nervaduras hacia afuera. Deben aplicarse en lados opuestos de las estanterías y soldarse a su parte central mediante insertos de esquinas o refuerzo grueso.
La fijación de la viga en las estanterías se realiza mediante pasadores de acero macizo. Debajo de ellos se debe realizar una serie de cortes circulares a diferentes alturas con colocación paralela en canales verticales. El diámetro del agujero debe coincidir con la sección del perno.
Otro elemento estructural de una prensa de garaje hidráulica de bricolaje es un mecanismo de resorte, gracias al cual el gato vuelve a su posición original cuando se abre la válvula de derivación. Para ello, puede utilizar resortes de acabado de puertas simples disponibles en su ferretería.

Los resortes utilizados para el acabado de las puertas aseguran el funcionamiento de la viga de soporte reiniciable del mecanismo de retorno.
La tarea se complica por la viga de presión superior, que tiene un peso significativo, como resultado de lo cual el resorte puede no comprimirse. Puede salir de la situación aumentando el número de elementos de resorte a 4-6 piezas, lo que es aceptable para una prensa hidráulica de mesa de bricolaje. También es posible utilizar elementos más potentes diseñados para puertas, lo que es más relevante para instalaciones de piso.
Si falta el bloque superior, los resortes están unidos a la varilla del gato. La fijación se realiza con una arandela, que tiene un orificio interior mayor que el tornillo de ajuste del vástago, pero menor que el diámetro del pistón. El muelle debe fijarse mediante dos pequeños orificios exteriores con fijación a la viga superior de la misma forma. El resorte no puede instalarse estrictamente verticalmente. La longitud excesiva del elemento se puede compensar mediante su disposición inclinada.
¡Aviso util! También se pueden usar ganchos soldados para asegurar el resorte.
Características de crear una prensa de aceite hidráulico con sus propias manos.
Se puede utilizar una prensa de gato casera como dispositivo para exprimir aceite. Sin embargo, en su fabricación, es necesario prever algunas características de diseño.
Se debe colocar una placa de metal en la barra transversal superior del marco. Debe moverse fácilmente a lo largo de las guías al actuar sobre el eje del tornillo. Este mecanismo permite controlar el espacio entre el bloque de sujeción y el material que se procesa.
Los pernos se utilizan para fijar el bloque móvil extraíble de una prensa casera desde un gato. Se instalan en orificios creados previamente en un paso específico, según lo determinado por el proceso de trabajo. Sin embargo, la distancia entre los orificios no debe ser mayor que la cantidad de movimiento libre de la varilla del gato hidráulico. Los elementos de sujeción están fabricados en metal de diferentes espesores y son extraíbles. Con esta tecnología, también puede hacer una prensa de papel con sus propias manos.
¡Aviso util! La fijación del haz de presión a las guías se puede realizar utilizando dedos hechos de metal duradero, cuyo diámetro se selecciona en función del tamaño del cuerpo y la fuerza aplicada durante el funcionamiento del dispositivo.
Cómo usar un gato hidráulico: características de diseño
La mayoría de las veces, una prensa casera está hecha de un gato hidráulico. Esto se debe a las características de diseño del producto y al principio de su funcionamiento, que se basa en las leyes de la hidráulica.
Hay un pistón en el cilindro del gato. Sobre él o en un depósito separado hay un fluido de trabajo en forma de aceite mineral. El gato hidráulico es accionado por una pequeña bomba que bombea aceite a través de una válvula de alivio por encima del pistón. La fuerza se minimiza debido a la diferencia en los diámetros del émbolo y el cilindro de la herramienta.El fluido de trabajo, que se encuentra sobre el pistón, lo empuja hacia afuera, lo que ayuda a levantar la carga que se encuentra sobre él.
Para bajar la herramienta, necesita saber cómo usar un gato hidráulico. Para hacer esto, purgue lentamente el aceite de funcionamiento de debajo del pistón en el depósito o en la parte superior del cilindro. Para ello, se utiliza una válvula de alivio de cabeza redonda con hombros, que debe aflojarse.
Durante el funcionamiento del dispositivo, pueden surgir ciertas dificultades, que se producen como resultado de un nivel de aceite insuficiente en el dispositivo. Para solucionar problemas, es importante saber cómo llenar un gato hidráulico con sus propias manos. Para hacer esto, desenrosque el tapón de llenado en el cuerpo de la herramienta e inserte una manguera en el orificio para llenar el depósito hasta el volumen requerido. Al final del proceso, se bombea el gato.
Características de una prensa electrohidráulica de bricolaje
Puede hacer de forma independiente no solo una prensa hidráulica manual, sino también un dispositivo equipado con un accionamiento eléctrico. Tal dispositivo es capaz de desarrollar enormes esfuerzos, lo que amplía la funcionalidad del equipo y aumenta su eficiencia.
El principio de funcionamiento de una prensa hidráulica de fabricación propia con accionamiento eléctrico es el siguiente. La bomba hidráulica es accionada por un motor que está conectado a la red. A su vez, la bomba hidráulica ayuda a mantener la presión requerida del fluido de trabajo en la primera cámara de prensado. El pistón asegura la transferencia de presión al segundo depósito de la prensa, donde aumenta varias veces. Por tanto, la fuerza resultante se transmite desde el segundo cilindro al material que se está procesando.
¡Importante! La cantidad de fuerza transmitida a la pieza de trabajo dependerá de la relación de las áreas de los pistones en ambos cilindros.
Con un motor eléctrico, puede crear con sus propias manos tanto una prensa hidráulica de pie como una de mesa. Ambas opciones diferirán en tamaño y valor de la fuerza ejercida sobre la pieza de trabajo que se está procesando. Para dispositivos de mesa, no excede las 20 toneladas, y para dispositivos montados en el piso, 100 toneladas.
Prensa hidráulica de bricolaje con motor eléctrico
La fabricación del dispositivo comienza con un dibujo de bricolaje de una prensa hidráulica con la aplicación de todos los elementos estructurales y una indicación de sus dimensiones.

La brida para la prensa hidráulica con motor eléctrico se puede hacer a partir del eje del automóvil
El marco de la estructura debe soportar cargas significativas, por lo tanto, debe estar hecho de material duradero. La mejor solución es utilizar una viga en T que no se doble debajo de la prensa hidráulica.
El marco está representado por una cama en forma de U, que se instala en una base desde esquinas o canales más delgados. En la parte central del marco en altura, es necesario instalar una plataforma de trabajo desde un canal de paredes gruesas mediante soldadura.
El siguiente paso para hacer una prensa hidráulica casera con sus propias manos es instalar un cilindro hidráulico en la cama, que se lleva a cabo en una secuencia determinada. Para asegurar una fijación confiable de la bomba hidráulica, debe fijarse a una placa de metal con una brida. La losa en sí está montada en las vigas en I del marco.
La brida se puede hacer a partir de un cubo de automóvil girándola en un torno. En una placa de metal para instalar un cilindro hidráulico, debe soldar un saliente redondo para fijar el torno en el mandril. Después de perforar el agujero, la placa se suelda a la base del marco.
Se coloca una brida con el orificio requerido en el cilindro hidráulico y se suelda en un círculo. Para la confiabilidad del dispositivo, se requiere fabricar y fijar otra brida a la parte superior del cilindro hidráulico, soldando a las vigas.
¡Importante! La brida y el cilindro hidráulico deben soldarse entre sí de la manera más uniforme posible, por lo que la superficie del primero se procesa previamente en un torno.
Una placa de metal con vigas soldadas se fija a la cama mediante soldadura. En él se hacen agujeros para sujetar pernos. Para asegurar el funcionamiento normal de la prensa, se debe instalar una estación de aceite conectándola al cilindro hidráulico mediante mangueras.
Reparación de prensa hidráulica de bricolaje desde un gato
Para mantener el rendimiento a largo plazo de una prensa hidráulica, fabricada sobre la base de un gato, un dispositivo de fabricación propia necesita un funcionamiento y mantenimiento adecuados. Durante la operación, es necesario monitorear el nivel de aceite en el cilindro hidráulico, lubricar las partes móviles, verificar el estado de las juntas de sellado y la confiabilidad de la fijación de los elementos de ensamblaje.

Para mantener el rendimiento de la prensa, es necesario controlar el nivel de aceite en el cilindro hidráulico, verificar la confiabilidad de la fijación de los elementos y lubricar las partes móviles.
Sin embargo, cualquier mecanismo puede funcionar mal, lo que es la causa del funcionamiento incorrecto o el desgaste de los elementos estructurales individuales. Si una prensa hidráulica de garaje creada por sus propias manos se ha detenido o no arranca, debe comprobar el nivel de aceite en el cilindro hidráulico. Si su volumen es insuficiente, será necesario llenar el recipiente con el posterior bombeo del gato.
Si se observa una fuga de fluido, esto indica daño mecánico a la estructura o rotura de sus elementos individuales. Para eliminar el defecto, es necesario desmontar el gato, revisar todas sus partes en busca de daños por corrosión. Se inspecciona el vástago para detectar deformaciones. Los elementos dañados deben sustituirse por otros nuevos. El aceite operativo debe drenarse por completo. La cavidad interior del gato y todos sus elementos se lavan con queroseno y se secan. Las juntas viejas y las juntas deben reemplazarse por otras nuevas.
Otras averías de una prensa de cilindros hidráulicos DIY
Si hay un nivel insuficiente de esfuerzo de una prensa hidráulica manual, hecha con sus propias manos, o el mecanismo funciona de manera intermitente, tal problema está asociado con la posible entrada de aire en la cavidad del gato, lo que afecta negativamente el funcionamiento del pistón. Para reparar el daño, el fluido de trabajo debe agregarse al cilindro eliminando el aire a través de los tubos.
La baja presión del mecanismo se debe a daños en la válvula, que se ha alejado de los compartimentos, está sucia o los resortes que contiene están debilitados. En los dos primeros casos, el elemento se repara o reemplaza. La válvula se limpia con un paño húmedo y luego se seca el elemento. En caso de fuerte contaminación, el mecanismo se lava con queroseno o gasolina y se seca con aire comprimido. Si el motivo radica en el desgaste de los resortes, deben ser reemplazados por elementos nuevos.
¡Importante! Si la carcasa o el pistón del gato están dañados, se requiere un reemplazo completo del mecanismo, que no se puede reparar.
Después de desmontar el gato para trabajos de reparación, el mecanismo debe ensamblarse bajo ciertas condiciones. Las válvulas deben encajar perfectamente contra los asientos. Es necesario que haya suficiente cantidad de líquido en el cilindro hidráulico. No debe haber aire en el sistema.
La prensa hidráulica es un equipo multifuncional y versátil que puede utilizarse para resolver diferentes tareas donde se requiere esfuerzo.La herramienta se puede comprar en una tienda especializada o puede hacer una prensa de bricolaje con un gato hidráulico, lo que le ahorrará dinero. Para esto, es importante elegir el material adecuado y adherirse al algoritmo para ensamblar elementos.